Curiosii for ever!: Car repair manuals for everyone.

Power Seat Switch: Service and Repair






Power Seat Adjustment Switch Removal, Installation, and Test

Removal

SRS components are located in this area. Review the SRS component locations Locations and the precautions and procedures Service and Repair before doing repairs or service.

1. Battery Terminal (SRS) - Disconnection





1. Make sure the ignition switch is in LOCK (0).

2. Disconnect and isolate the negative cable and battery sensor (A) from the battery (B).

NOTE: Always disconnect the negative side first.

3. Disconnect the positive cable (C) from the battery.

4. Wait at least 3 minutes before starting work.

2. Front Seat Belt Lower Anchor Bolt - Driver's Side





2-door

1. Remove the lower anchor cap (A).

2. Remove the lower anchor bolt (B).





4-door

1. Remove the anchor cover (A).





2. Remove the lower anchor bolt (A).

3. Head Restraint





1. Remove the headrest restraint (A).

4. Front Seat - Driver's Side





1. Remove both seat track end covers (A).

Front side





Rear side





2. Remove the seat mounting bolts (A).

Power seat





Manual seat





3. Disconnect the connectors (A).

4. Detach the clips (B).

5. Front Seat Recline Cover - Driver's Side

Power seat





Manual seat





1. Manual seat: Remove the recline knob (A).

2. Remove the recline cover (B).

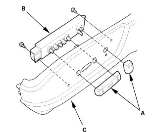
6. Power Seat Adjustment Switch - Driver's Side





1. Remove the power seat adjustment switch knobs (A).

2. Remove the power seat adjustment switch (B) from the recline cover (C).

Test

1. Power Seat Adjustment Switch Driver's Side - Test

1. Reinstall the power seat adjustment switch knobs (A) to the power seat adjustment switch (B).











2. Check for continuity between the terminals in each switch position according to the table.

3. If the continuity is not as specified, replace the power seat adjustment switch.

Installation

SRS components are located in this area. Review the SRS component locations Locations and the precautions and procedures Service and Repair before doing repairs or service.

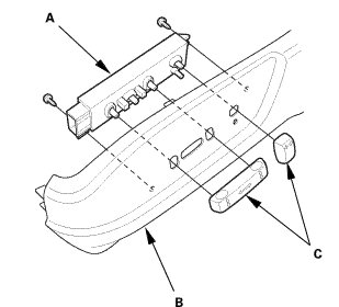
1. Power Seat Adjustment Switch - Driver's Side





1. Install the power seat adjustment switch (A) to the recline cover (B).

2. Install the power seat adjustment switch knobs (C).

2. Front Seat Recline Cover - Driver's Side

Power seat





Manual seat





1. Install the recline cover (A).

2. Manual seat: Install the recline knob (B).

3. Front Seat - Driver's Side

Power seat





Manual seat





1. Connect the connectors (A).

2. Install the clips (B).

Front side





Rear side





3. Install the seat mounting bolts (A).

NOTE:
* Tighten the bolts by hand first, then tighten them to the specified torque.
* Tighten the seat mounting bolts to the specified torque in the sequence shown. Slide the seat all the way back and tighten 1 and 2, then slide it forward and tighten 3 and 4.





4. Install both seat track end covers (A).

4. Head Restraint





1. Install the headrest restraint (A).

5. Front Seat Belt Lower Anchor Bolt - Driver's Side





2-door

1. Assemble the washer, the collar, and the bushing on the lower anchor bolt as shown.

NOTE: Apply medium strength liquid thread lock to the lower anchor bolt before reinstallation.





2. Install the lower anchor bolt (A).

3. Install the anchor cover (B).





4-door

1. Install the lower anchor bolt (A).





2. Install the anchor cover (A).

6. Battery Terminal (SRS) - Reconnection





NOTE: If the battery performs abnormally, test the battery.

1. Clean the battery terminals.

2. Connect the positive cable (A) to the battery (B).

NOTE: Always connect the positive side first.

3. Connect the negative cable and battery sensor (C) to the battery.

4. Apply multipurpose grease to the terminals to prevent corrosion.