Curiosii for ever!: Car repair manuals for everyone.

Alignment: Service and Repair




Service Information

Wheel Alignment

Inspection

1. Pre-Alignment Checks

For proper inspection and adjustment of the wheel alignment, do these checks:

1. Release the parking brake to avoid an incorrect measurement.

2. Make sure the suspension is not modified.

3. Make sure the fuel tank is full, and that the spare tire, the jack, and the tools are in place on the vehicle.

4. Check the tire size and tire pressure according to tire information.

2. Vehicle - Lift

1. Raise the vehicle on a lift, and make sure it is securely supported.

3. Wheel Runout - Inspection





1. Check for bent or deformed wheels.

2. Set up the dial gauge as shown.

3. Measure the axial runout by turning the wheel.












4. Reset the dial gauge to the position shown.

5. Measure the radial runout.







6. If the wheel runout is not within the specification, check the wheel bearing end play, and make sure the mating surfaces between the brake disc or the brake drum and the inside of the wheel are clean.

7. If the bearing end play is within the specification but the wheel runout is more than the service limit, replace the wheel.

4. Suspension Ball Joints - Check





1. Check the suspension ball joints (Raise and support the vehicle. Hold a tire with your hands, and move it up and down and right and left to check for movement).

2. Before doing alignment inspections, be sure to remove all extra weight from the vehicle, and no one should be inside the vehicle (driver or passengers).

3. Lower the vehicle to the ground. Bounce the vehicle up and down several times to stabilize the suspension.

4. Check that the steering column is set at the center tilt position and the center telescopic position.

5. Caster - Inspection

Use commercially available computerized four wheel alignment equipment to measure wheel alignment (caster, camber, toe, and turning angle). Follow the equipment manufacturer's instructions.

1. Check the caster angle.








* If the measurement is within specifications, measure the front camber angle.
* If the measurement is not within specifications, check for bent or damaged suspension components.

6. Camber - Inspection

Use commercially available computerized four wheel alignment equipment to measure wheel alignment (caster, camber, toe, and turning angle). Follow the equipment manufacturer's instructions.

1. Check the camber angle.








* If the measurement is within specification, measure the toe-in.
* If the measurement for the front camber is not within the specification, go to front camber adjustment.
* If the measurement for the rear camber is not within the specification, check for bent or damaged suspension components.

7. Rear Toe - Inspection

Use commercially available computerized four wheel alignment equipment to measure wheel alignment (caster, camber, toe, and turning angle). Follow the equipment manufacturer's instructions.

1. Release the parking brake to avoid an incorrect measurement.

2. Check the toe.

Rear toe-in: 2+2-1mm (0.08+0.08-0.04in)
* If adjustment is required, go to the rear toe adjustment.
* If no adjustment is required, go to front toe inspection.

8. Front Toe - Inspection

Use commercially available computerized four wheel alignment equipment to measure wheel alignment (caster, camber, toe, and turning angle). Follow the equipment manufacturer's instructions.

1. Set the steering column to the middle tilt position and telescopic positions.

2. Center the steering wheel spokes, and install a steering wheel holder tool.

3. Check the toe with the wheels pointed straight ahead.

Front toe-in: 0±2 mm (0±0.08 in)
* If adjustment is required, go to the front toe adjustment.
* If no adjustment is required, remove the alignment equipment.

9. Turning Angle - Inspection





Use commercially available computerized four wheel alignment equipment to measure wheel alignment (caster, camber, toe, and turning angle). Follow the equipment manufacturer's instructions.

1. Turn the wheel right and left while applying the brake, and measure the turning angle of both wheels.







2. If the measurement is not within the specifications, even up both sides of the tie-rod threaded section length while adjusting the front toe.

3. If it is correct, but the turning angle is not within the specifications, check for bent or damaged suspension components.

Adjustment

The suspension can be adjusted for front camber, front toe, and rear toe. However, each of these adjustments are related to each other. For example, when you adjust camber, the toe will change. Therefore, you must adjust the front wheel alignment whenever you adjust camber or toe.

NOTE: After adjusting the wheel alignment, do the VSA sensor neutral position memorization and steering angle sensor neutral position clear.

1. Front Camber - Adjustment




The front camber can be adjusted by exchanging one or both of the damper pinch bolts with a smaller diameter adjusting bolt. The difference between the adjusting bolt diameter and the pinch bolt hole diameter allows for a small range of adjustment.

NOTE: Refer to the Parts Catalog if you need to use an adjusting bolt.





1. Raise and support the vehicle.

2. Remove the front wheels.

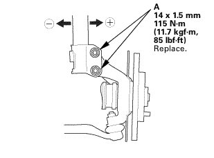
3. Loosen the damper pinch bolts (A), and adjust the camber angle by moving the bottom of the damper within the range of the damper pinch bolt free play.

4. Tighten the damper pinch bolts to the specified torque.

5. Clean the mating surfaces between the brake disc and the inside of the wheel, then install the front wheels.

6. Lower the vehicle to the ground, and bounce the front of the vehicle up and down several times to stabilize the suspension.

7. Measure the camber angle.

* If the measurement is within specification, measure the toe-in.
* If the measurement is not within specification, go to step 8.





8. Raise and support the vehicle.

9. Remove the front wheels.

10. Replace the damper pinch bolts with the adjusting bolts (A), and adjust the camber angle.

NOTE:
* Install the washers (B) included adjusting bolt set between the front damper and flange nut (C).
* The camber angle can be adjusted up to±20 ' (center of tolerance) by replacing one damper pinch bolt with the adjusting bolt.
* The camber angle can be adjusted up to±40 ' by replacing both damper pinch bolts with the adjusting bolts.

11. Tighten the damper pinch bolts to the specified torque.

12. Clean the mating surfaces between the brake disc and the inside of the wheel, then install the front wheels.

13. Lower the vehicle to the ground, and bounce the front of the vehicle up and down several times to stabilize the suspension.

14. Measure the camber angle. If the camber angle is not within specification, repeat step 8 through 13 to readjust the camber angle. If the camber measurement is correct, measure toe-in, and adjust it if necessary.

2. Rear Toe - Adjustment





1. Hold the adjusting bolt (A) on the trailing arm (B), and loosen the self-locking nut (C).

2. Replace the self-locking nut with a new one, and lightly tighten it.

NOTE:
* Always use a new self-locking nut whenever it has been tightened to the specified torque.
* Reassemble the adjusting bolt and adjusting cam plate with the eccentric facing up.

3. Adjust the rear toe by turning the adjusting bolt until the toe is correct.

4. Tighten the self-locking nut to the specified torque while holding the adjusting bolt.

3. Front Toe - Adjustment





1. Loosen the tie-rod end locknuts (A) while holding the flat surface sections (B) of the tie-rod end with a wrench, and turn both tie-rods (C) until the front toe is within specifications.

2. After adjusting, tighten the tie-rod end locknuts to the specified torque. Reposition the rack-end boot if it is twisted or displaced.

4. HDS DLC - Connection





1. Connect the HDS to the data link connector (DLC) (A) located under the driver's side of the dashboard.

2. Turn the ignition switch to ON (II).

3. Make sure the HDS communicates with vehicle. If it does not communicate, go to the DLC circuit troubleshooting.

5. VSA Sensor Neutral Position - Memorization

1. Park the vehicle on a flat and level surface, with the steering wheel in the straight ahead position.

2. Select VSA ADJUSTMENT, then select ALL SENSORS with the HDS, and follow the screen prompts.

NOTE: See the HDS Help menu for specific instructions.

6. Steering Angle Sensor Neutral Position - Clear

1. Select EPS ADJUSTMENT, then select EPS STEERING ANGLE SENSOR VALUE CLEAR and follow the screen prompts on the HDS.

NOTE: See the HDS Help menu for specific instructions.