Curiosii for ever!: Car repair manuals for everyone.

Back Window Glass: Service and Repair






Rear Window Removal and Installation

Removal

1. Rear Seat Cushion





1. Remove the bolt (A) securing the rear seat cushion (B).





2. While pushing down the rear seat cushion (A), pull the seat hook handles (B) to release the hooks (C).

3. Remove the rear seat cushion.

2. Both Rear Seat Side Bolsters





1. Remove the bolt (A) securing the rear seat side bolster (B).

2. The left side is shown; repeat on the right side.





3. Remove the rear seat side bolster (A).

4. The left side is shown; repeat on the right side.

3. Both Rear Door Opening Seals as Needed





1. Remove the rear door opening seal (A) as needed.

2. The left side is shown; repeat on the right side.

4. Both C-Pillar Trims





1. Pull out the C-pillar trim (A) to release the clips.

2. Remove the C-pillar trim.

NOTE: The front clip (B) will stay in the body.

3. The left side is shown; repeat on the right side.





4. Remove the front clip (A).

5. The left side is shown; repeat on the right side.

5. Rear Shelf Trim





1. Fold down the seat-back(s).

2. From the trunk compartment, disconnect the connector (A).





3. From the trunk compartment, detach the clips (A).





4. Release the hooks (A).





5. Pull out both rear seat belts (A) and the rear center seat belt (B) through the slits in the rear shelf trim (C), then remove the rear shelf trim.

6. Headliner As Needed - Rear Side





1. Remove the rear of the headliner (A) as needed.

7. Rear Window





1. Disconnect the terminals (A).

2. For some models: Disconnect the terminals (B).





3. If the original rear window will be reinstalled, make alignment marks across the glass and the body with a grease pencil.

4. Open the trunk lid.

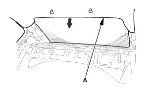
5. Remove the lower rubber dam (A) from the lower edge of the rear window (B). If necessary, cut the molding with a utility knife.





Cutting positions





6. Apply protective tape along the inside and outside edges of the body. Make a hole with an awl through the adhesive from inside the vehicle at a corner of the rear window. Push a piece of piano wire through the hole, and wrap each end around a piece of wood.

7. With a helper on the outside, pull the piano wire (A) back and forth in a sawing motion. Hold the piano wire as close to the rear window (B) as possible to prevent damage to the body, and carefully cut through the adhesive (C) around the entire rear window.

8. Carefully remove the rear window.

Installation

1. Rear Window





1. Scrape smooth the original adhesive with a knife, until there is a thickness of about 2mm (0.08 in) on the bonding surface around the entire rear window opening flange:

* Do not scrape down to the painted surface of the body; damaged paint will interfere with proper bonding.
* Remove the fasteners from the body.

2. Clean the body bonding surface with a shop towel dampened with isopropyl alcohol. After cleaning, keep oil, grease, and water from getting on the surface.

3. If you are reinstalling the original rear window, scrape off the original adhesive, the fasteners, and the rubber dam from the rear window with a putty knife. Clean the bonding surface on the inside face and the edge of the rear window with isopropyl alcohol. Make sure the bonding surface is kept free of water, oil, and grease.

4. Apply glass primer to the edge of the rear window (A) where the new lower rubber dam (B) will be attached as shown. Attach the lower rubber dam with adhesive tape (C) to the lower edge of the rear window:

* After installing the rubber dam, cut the ends (D) of the rubber dam as shown.
* Be careful not to touch the rear window where the adhesive will be applied.





5. Apply glass primer to the upper clip mounting areas on the rear window (A), and let it dry. Attach the upper rubber dam (B), the side rubber dams (C), the clips (D), and the side fasteners (E) with adhesive tape to the inside face of the rear window as shown:

* Make sure the clips, and the fasteners line up with the alignment marks (F).
* First attach the upper rubber dam, then attach the side rubber dams around the edge of the rear window. Make sure the top of the side rubber dam contact with the bottom of the side rubber dam. If necessary, cut the rubber dam with a utility knife.
* Be careful not to touch the rear window where the adhesive will be applied.





6. Attach the fasteners (A) with the adhesive tape to the rear window opening flange of the body on both sides.





7. Set the rear window in the opening, and center it. Make alignment marks (A) across the rear window and the body with a grease pencil at the four points shown:

* Make sure both upper clips (B) are in the body holes.
* Be careful not to touch the rear window where the adhesive will be applied.

8. Remove the rear window.





9. Apply a light coat of glass primer along the edge of the rear window (A) between the rubber dams (B, C) as shown, then lightly wipe it off with gauze or cheesecloth:

* Apply the glass primer to the corner areas of the rear window using the printed dots (D) on the rear window as a guide.
* Do not apply body primer to the rear window, and do not mix up the body and glass primer applicators.
* Never touch the primed surfaces with your hands. If you do, the adhesive may not bond to the rear window properly, causing a leak after the rear window is installed.
* Keep water, dust, and abrasive materials away from primed surfaces.





10. Carefully apply a light coat of body primer to any exposed paint or metal around the flange where the new adhesive will be applied. Let the body primer dry for at least 10 minutes:

* Do not apply body primer to any remaining original adhesive on the flange.
* Be careful not to mix up the body and glass primer applicators.
* Never touch the primed surfaces with your hands.





11. Cut a "V" in the end of the nozzle (A) on the adhesive cartridge as shown.





12. Put the cartridge in a caulking gun, and run a continuous bead of the adhesive (A) around the edge of the rear window (B) between the rubber dams (C, D) as shown:

* Apply the glass primer to the corner areas of the rear window using the printed dots (E) on the rear window as a guide.
* Apply the adhesive within 30 minutes after applying the glass primer.
* Make a slightly thicker bead at each corner.

13. Hold the rear window with suction cups over the opening, align it with the alignment marks you made in step 7, and set it down on the adhesive. Lightly push on the rear window until its edges are fully seated on the adhesive all the way around.

NOTE: Do not open or close any of the doors for about an hour until the adhesive is dry.

14. Remove the excess adhesive with a putty knife or a shop towel dampened with isopropyl alcohol.

15. Wait at least an hour for the adhesive to dry, then spray water over the rear window and check for leaks. Mark the leaking areas, let the rear window dry, then seal with sealant. Let the vehicle stand for at least 4 hours after rear window installation. If the vehicle has to be used within the first 4 hours, it must be driven slowly.

16. Advise the customer not to do the following things for 2 to 3 days:

* Slam the doors with all the windows rolled up.
* Twist the body excessively (such as when going in and out of driveways at an angle or driving over rough, uneven roads).





17. Connect the terminals (A).

18. For some models: Connect the terminals (B).

2. Headliner As Needed - Rear Side





1. Install the rear of the headliner (A).

3. Rear Shelf Trim





1. Slip the rear seat belts (A) and the rear center seat belt (B) through the slits in the rear shelf trim (C).





2. Install the hooks (A).





3. Install the clips (A).





4. From the trunk compartment, connect the connector (A).

5. Raise the seat-back(s).

4. Both C-Pillar Trims





1. Install the new front clip (A) to the C-pillar trim (B).





2. Install the C-pillar trim (A).

NOTE:
* Make sure the side curtain airbag is not tucked under the clips or the ribs.
* Do not push too hard on the C-pillar trim. If you push too hard, the clip will be damaged, and it will not hold the trim properly.
* Gently tug on the C-pillar trim to verify that all clips are securely fastened.

3. The left side is shown; repeat on the right side.

5. Both Rear Door Opening Seals as Needed





1. Install the rear door opening seal (A).

2. The left side is shown; repeat on the right side.

6. Both Rear Seat Side Bolsters





1. Install the rear seat side bolster (A).

2. The left side is shown; repeat on the right side.





3. Install the bolt (A) securing the rear seat side bolster (B).

4. The left side is shown; repeat on the right side.

7. Rear Seat Cushion





1. Install the hooks (A) to the rear seat cushion clips (B).





2. Install the bolt (A) securing the rear seat cushion (B).

8. Water Leak Test




Check for water leaks. Run water over the roof and on the sealing area as shown, and note these items:
* Use a 12 mm (0.47 in) diameter hose (A).
* Adjust the rate of water flow as shown.
* Do not use a nozzle.
* Hold the hose about 300 mm (12 in) away from the door.