Curiosii for ever!: Car repair manuals for everyone.

Traction Control Switch: Service and Repair






VSA Off Switch Removal and Installation

Removal

1. Driver's Dashboard Lower Cover





1. Remove the driver's dashboard lower cover (A).

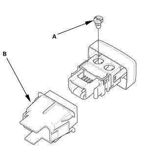
2. VSA Off Switch





1. Remove the VSA OFF switch (A) from the driver's dashboard lower cover (B).

3. VSA Off Switch Bulb





1. Remove the cover (A).

2. Remove the bulb (B).

Installation

1. VSA Off Switch Bulb





1. Install the bulb (A).

2. Install the cover (B).

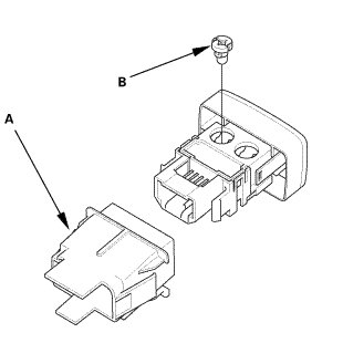
2. VSA Off Switch





1. Install the VSA OFF switch (A) to the driver's dashboard lower cover (B).

3. Driver's Dashboard Lower Cover





1. Install the driver's dashboard lower cover (A).