Curiosii for ever!: Car repair manuals for everyone.

Steering Control Module: Service and Repair




EPS Control Unit Removal/Installation

1. Do the 12 volt battery terminal disconnection procedure.

2. Remove the driver's kick panel Service and Repair.

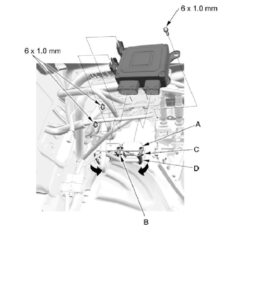
3. Disconnect EPS control unit connector A (11P) and connector B (16P) by pushing the lock (C) and pulling down the lever (D) from the EPS control unit.





4. Remove the EPS control unit.

5. Install the EPS control unit (C).





6. Pull up the lever (D) of the EPS control unit connector A (11P) and connector B (16P), then confirm the connector is fully seated to the EPS control unit.

7. Install the driver's kick panel Service and Repair.

8. Do the 12 volt battery terminal reconnection procedure.

9. After installation, start the engine, allow it to idle, and turn the steering wheel from lock to lock several times. Check that the EPS indicator does not come on.