Overhaul
Starter Overhaul
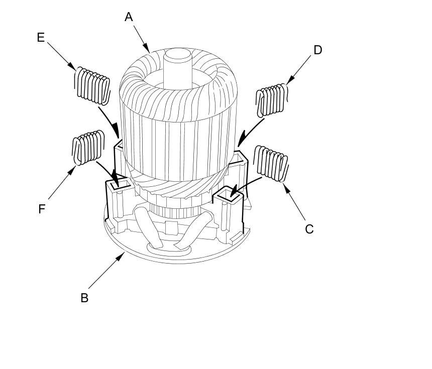
Exploded View
NOTE: Refer to the Exploded View if needed during this procedure.
Starter Disassembly
1. Remove the starter.
2. Remove the engine wire harness bracket (A) and the end cover (B).
3. Remove the armature housing (A) and the armature (B).
Armature Inspection and Test
4. Inspect the armature for wear or damage from contact with the permanent magnet. If there is wear or damage, replace the armature.
5. Check the commutator (A) diameter with a digital caliper or dial type caliper. If the diameter is below the service limit, replace the armature.
Commutator Diameter
6. Measure the commutator (A) runout:
- If the commutator runout is within the service limit, check the commutator for carbon dust or brass chips between the segments.
- If the commutator runout is not within the service limit, replace the armature.
Commutator Runout
7. Check the commutator (A) surface. If the surface is dirty or burnt, resurface it with an emery cloth or a lathe to the specification in step 5, or recondition with #500 or #600 sandpaper (B).
8. Use a digital caliper or dial type caliper to check the mica depth (A). If the mica depth is below the service limit, replace the armature.
Commutator Mica Depth
9. Use an ohmmeter to check for continuity between the segments of the commutator. If there is an open circuit between any segments, replace the armature.
10. Place the armature (A) on an armature tester (B). Hold a hacksaw blade (C) on the armature core. If the blade is attracted to the core while the core is turned, the armature is shorted. Replace the armature.
11. Use an ohmmeter to check for continuity between the commutator (A) and the armature coil core (B), and between the commutator and the armature shaft (C). If there is continuity, replace the armature.
Starter Brush Holder Test
12. Check for continuity between the (+) brushes (A) and the (-) brushes (B). If there is continuity, replace the brush holder set.
Starter Brush Inspection
13. Measure the brush length. If it is shorter than the service limit, replace the brush holder set.
Brush Length
Planetary Gear Inspection
14. Remove the push nut (A), contact spring (B) and moving contact (C), then remove the brush holder set.
15. Check the planetary gears (A), the armature shaft gear (B) and the internal ring gear (C). Replace them if they are worn or damaged.
Overrunning Clutch Inspection
16. Holding the drive gear (A), turn the gear shaft (B) clockwise. Check that the drive gear comes out to the other end. If the drive gear does not move smoothly, replace the gear cover set.
17. Holding the drive gear, turn the gear shaft counterclockwise. The gear shaft should rotate freely. If the gear shaft does not rotate smoothly, replace the gear cover set.
Starter Reassembly
18. When the brush holder is replaced: Replace the brush holder set with the moving contact (A), the contact spring (B), and the push nut (C).
19. When the gear cover/reduction gear/plunger is replaced: Replace the new parts set with the contact spring (A) and the push nut (B).
20. Install the brush into the brush holder, and set the armature (A) in the brush holder (B).
NOTE: To seat the new brushes, slip a strip of #500 or #600 sandpaper, with the grit side up, between the commutator and each brush, and smoothly rotate the armature. The contact surface of the brushes will be sanded to the same contour as the commutator.
21. While squeezing a brush spring (C), insert it in the hole on the brush holder, and push it until it bottoms. Repeat this for the other three springs (D, E, and F).
22. Install the armature and the brush holder assembly (A) into the armature housing (B).
NOTE: Make sure the armature brackets in the holder.
23. Install the end cover (A) with the engine wire harness bracket (B).
24. Install the starter.