Curiosii for ever!: Car repair manuals for everyone.

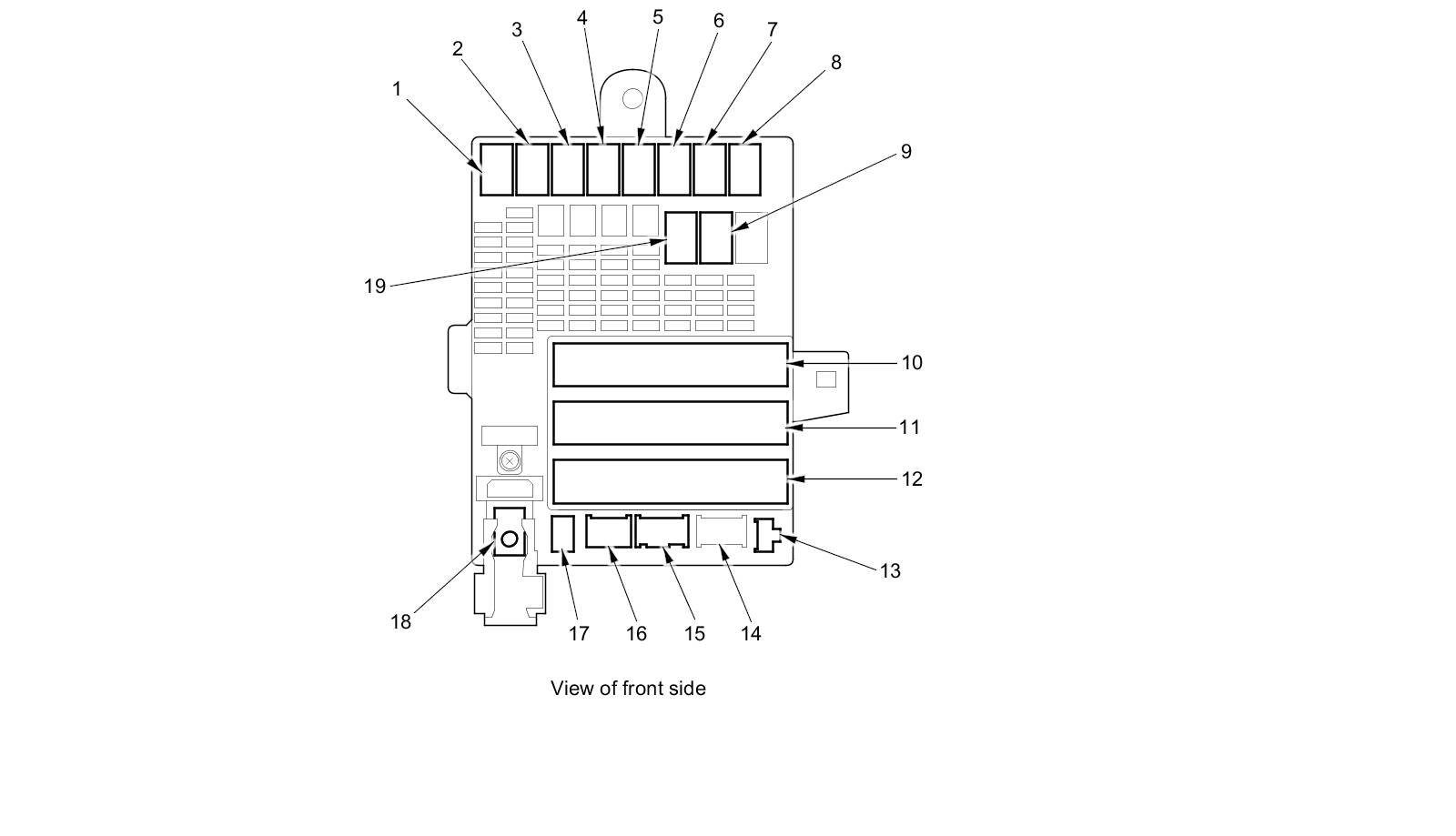
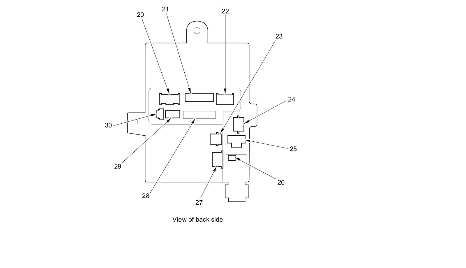
Connector Locations




Fuse/Relay Box Connector Locations

Battery Terminal Fuse Box










Under-Dash Fuse/Relay Box














Auxiliary Under-Hood Relay Box A










Auxiliary Under-Hood Relay Box B










Under-Dash Relay Holder A










Under-Dash Relay Holder B










Driver's Seat Relay Holder










Passenger's Seat Relay Holder