Curiosii for ever!: Car repair manuals for everyone.

Voltage Converter: Service and Repair




DC-DC Converter Removal/Installation

WARNING
The IMA motor power cables carry high voltage when the engine is running or the IMA system is energized. To avoid serious injury from electrical shock, do not start the engine with the IMA motor power cables disconnected.

IMA components are located in this area. The IMA is a high-voltage system. You must be familiar with the IMA system before working on or around it. Make sure you have read the IMA service precautions before doing repairs or service High Voltage Safety.

1. Make sure the ignition switch is in LOCK (0).

2. Do the 12 volt battery terminal disconnection procedure.

3. Remove the MCM.

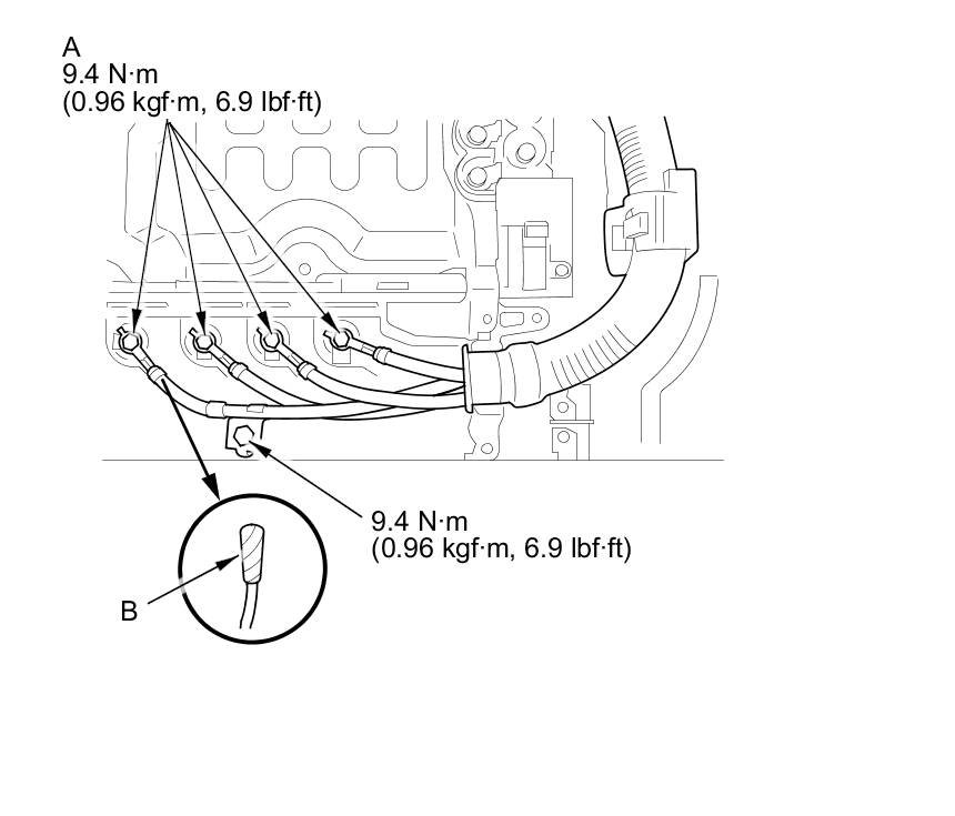
4. Disconnect the four IMA motor power cables (A) from the phase motor current sensor, then wrap the end of the 12 volt power cable (B) with insulating tape.

NOTE: Check the position of the U phase, the V phase, and the W phase cables before disconnecting them.






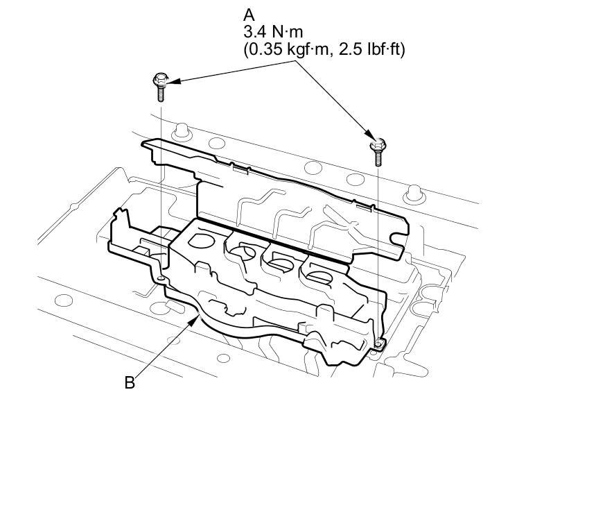
5. Remove the bolts (A) and the terminal cover (B).






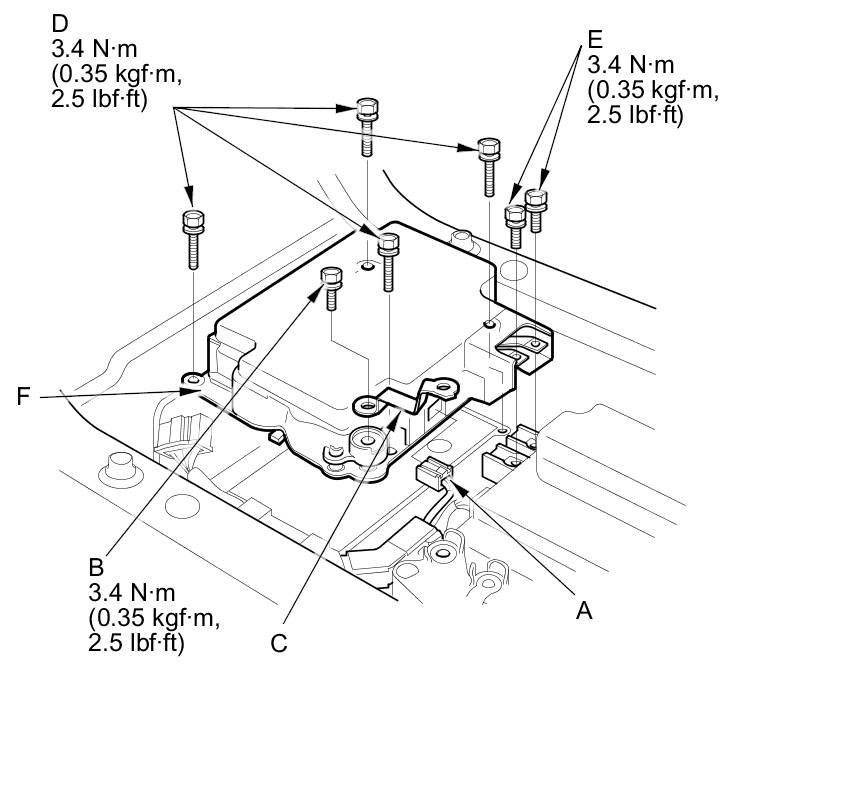
6. Disconnect the DC-DC converter connector (A).





7. Remove the bolt (B) and the busbar (C).

8. Remove the bolts (D, E) and the DC-DC converter (F).

9. Install the parts in the reverse order of removal.

NOTE: Make sure the IMA motor power cables are correctly positioned before you reconnect them.

10. Do the 12 volt battery terminal reconnection procedure.