Curiosii for ever!: Car repair manuals for everyone.

Back Window Glass: Service and Repair




Rear Window Replacement

NOTE:

- Wear eye protection while cutting the glass adhesive with a piano wire.
- Put on gloves to protect your hands.
- Use seat covers to avoid damaging any surfaces.
- Do not damage the rear window defogger grid lines, the window antenna grid lines, or the terminals.
- 4-door is shown; 2-door is similar.

1. Remove these items:

- Trunk lid
- Rear shelf Service and Repair

2. Disconnect the window antenna terminals (A) and the rear window defogger terminals (B).





3. If the original rear window will be reinstalled, make alignment marks across the rear window and the body with a grease pencil.

4. Pull down the rear area of the headliner (A) by detaching the clips.

NOTE: Take care not to bend the headliner excessively, or you may crease or break it.





5. Apply the protective tape along the inside and outside edges of the body. Make a hole with an awl or similar tool through the adhesive from inside the vehicle at a corner of the rear window. Push a piece of piano wire through the hole, and wrap each end around a piece of wood.

6. Remove the lower rubber dam (A) from the lower edge of the rear window (B). If necessary, cut the rubber dam with a utility knife.






7. With a helper on the outside, pull the piano wire (A) back and forth in a sawing motion. Hold the piano wire as close to the rear window (B) as possible to prevent damage to the body, and carefully cut through the adhesive (C) around the entire rear window.






Cutting positions - 2-door





Cutting positions - 4-door





8. Carefully remove the rear window.

9. Scrape the original adhesive smooth to a thickness of about 2 mm (0.08 in) on the bonding surface around the entire rear window opening flange with a putty knife:

- Do not scrape down to the painted surface of the body; damaged paint will interfere with proper bonding.
- Remove the fasteners from the body.

10. Clean the body bonding surface with a shop towel dampened with isopropyl alcohol. After cleaning, keep oil, grease, and water from getting on the clean surface.

11. If you are reinstalling the original rear window, scrape off all of the original adhesive, the fasteners, and the rubber dams from the rear window with a putty knife. Clean the bonding surfaces on the inside face and the edge of the rear window with isopropyl alcohol. Make sure the bonding surface is kept free of water, oil, and grease.

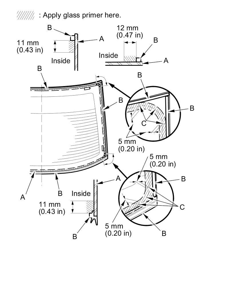
12. Apply glass primer to the edge of the rear window (A) where the lower rubber dam (B) will be attached as shown. Attach the lower rubber dam with the adhesive tape (C) to the lower edge of the rear window:

- After installing the rubber dam, cut the ends (D) of the rubber dam as shown.
- Be careful not to touch the rear window where the adhesive will be applied.





13. Apply glass primer to the upper clip mounting area on the rear window, and let it dry. Attach the upper rubber dam (A), the side rubber dams (B), the upper clips (C), and the fasteners (D) with the adhesive tape to the inside face of the rear window (E) as shown:

- First attach the upper rubber dam, then attach the side rubber dams around the edge of the rear window. Be sure the top of the side rubber dam contacts with the bottom of the upper rubber dam. If necessary, cut the excess rubber dams.
- Make sure the upper rubber dam, the side rubber dams, the upper clips, and the fasteners line up with the alignment marks (F). If necessary, cut the excess rubber dams.
- Make sure the index tabs (G) on the clip faces the right side.
- Be careful not to touch the rear window where the adhesive will be applied.

2-door





4-door





14. Attach the fasteners (A) with the adhesive tape to the rear window opening flange (B) of the body on both sides.

2-door





4-door





15. Set the rear window in the opening, and center it. Make alignment marks (A) across the rear window and the body with a grease pencil at the four points shown:

- Make sure the pins (B) of both upper clips (C) contact with the edge of the body holes.
- Be careful not to touch the rear window where the adhesive will be applied.





16. Remove the rear window.

17. Apply a light coat of glass primer to the rear window (A) along the edge of the rubber dams (B) as shown, then lightly wipe it off with gauze or cheesecloth:

- Apply glass primer to the corner area of the rear window using the printed dots (C) on the rear window as a guide.
- Do not apply body primer to the rear window, and do not mix up the body and glass primer applicators.
- Never touch the primed surfaces with your hands. If you do, the adhesive may not bond to the rear window properly, causing a leak after the rear window is installed.
- Keep water, dust, and abrasive materials away from the primed surfaces.

2-door





4-door





18. Carefully apply a light coat of body primer to any exposed paint or metal around the flange where the new adhesive will be applied. Let the body primer dry for at least 10 minutes:

- Do not apply body primer to any remaining original adhesive on the flange.
- Be careful not to mix up the body and glass primer applicators.
- Never touch the primed surfaces with your hands.

2-door





4-door





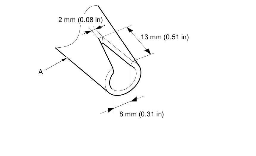
19. Cut a "V" in the end of the nozzle (A) on the adhesive cartridge as shown.






20. Put the cartridge on a caulking gun, and run a continuous bead of the adhesive (A) to the rear window (B) along the edge of the rubber dams (C) as shown:

- Use the printed dots (D) as a guide when you apply the adhesive to the corners of the rear window.
- Apply the adhesive within 30 minutes after applying the glass primer.
- Make a slightly thicker bead at each corner.

2-door





4-door





21. Hold the rear window with suction cups over the opening, align it with the alignment marks you made in step 15, and set it down on the adhesive. Lightly push on the rear window until its edges are fully seated on the adhesive all the way around.

NOTE: Do not open or close any of the doors for about an hour until adhesive is dry.

22. Remove the excess adhesive with a putty knife or a shop towel dampened with isopropyl alcohol.

23. Wait at least an hour for the adhesive to dry, then spray water over the rear window, and check for leaks. Mark the leaking area, and let the rear window dry, then seal with sealant. Let the vehicle stand for at least 4 hours after rear window installation. If the vehicle has to be used within the first 4 hours, it must be driven slowly.

24. Reinstall all remaining removed parts.

NOTE: Advise the customer not to do the following things for 2 to 3 days:

- Slam the doors with all the windows rolled up.
- Twist the body excessively (such as when going in and out of driveways at an angle or driving over rough, uneven roads).