Curiosii for ever!: Car repair manuals for everyone.

Wiper Arm: Service and Repair




Wiper Arm Replacement

NOTE:

- Before removal and installation, turn the wiper/washer switch ON to (LO) or (HI) position, then OFF to return the motor shaft to the park position.
- Do not use the wiper/washer switch (INT) position in this step.

1. Open the hood. Remove the caps (A) and nuts (B).

NOTE: The illustration shows 4-door.






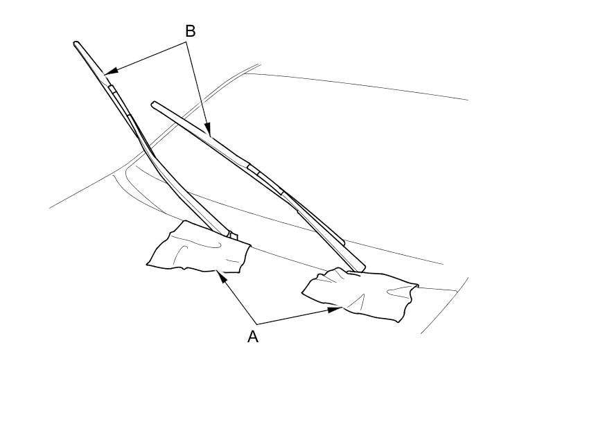
2. Close the hood, then spread protective cloths (A) on the hood to avoid scratching the hood edge.

NOTE: The illustration shows 4-door.





3. Raise the wiper arms (B) off the windshield, then remove the wiper arms.

4. Install the wiper arms in the reverse order of removal. After installation, adjust the wiper arms:

- 4-door Wiper Arm/Nozzle Adjustment (4-door)
- 2-door Wiper Arm/Nozzle Adjustment (2-door)