Curiosii for ever!: Car repair manuals for everyone.

Ambient Temperature Sensor / Switch HVAC: Service and Repair




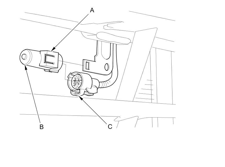
Outside Air Temperature Sensor Replacement

1. Lift the tab (A) to release the lock, then remove the outside air temperature sensor (B) from the front bumper beam. Disconnect the 2P connector (C) from the outside air temperature sensor.





2. Install the sensor in the reverse order of removal.