Curiosii for ever!: Car repair manuals for everyone.

Windshield: Service and Repair




Windshield Replacement

NOTE:

- Put on gloves to protect your hands.
- Wear eye protection while cutting the glass adhesive with a piano wire.
- Use seat covers to avoid damaging the seats.
- Glass adhesive can be efficiently cut with a commercially available auto glass tool. See the tool manufacturer's instructions for details.

1. Remove these items:

- Hood hinge cover
- Rearview mirror Rearview Mirror Replacement
- A-pillar trim, both sides Interior Trim Removal/Installation - Pillar Areas
- Roof moldings, both sides

2. Remove the windshield molding (A) from the edge of the windshield (B). If necessary, cut the windshield molding with a utility knife.





3. If the old windshield be reinstalled, make alignment marks across the windshield and body with a grease pencil.

4. Pull down the front portion of the headliner Service and Repair. Take care not to bend the headliner excessively, or you may crease or break it.

5. Apply protective tape along the edge of the dashboard and the body. Make a hole with an awl through the rubber dam and the adhesive from inside the vehicle at a corner of the windshield. Push a piece of piano wire through the hole, and wrap each end around a piece of wood.

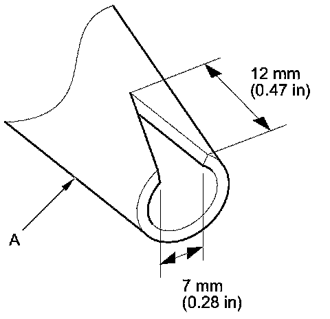
6. With a helper on the outside, pull the piano wire (A) back and forth in a sawing motion. Hold the piano wire as close to the windshield (B) as possible to prevent damage to the body and dashboard.
Carefully cut through the rubber dam and the adhesive (C) around the entire windshield.






Cutting positions





7. Carefully remove the windshield.

8. Scrape smooth the old adhesive with a knife until there is a thickness of about 2 mm (0.08 in) on the bonding surface around the entire windshield opening flange:

- Do not scrape down to the painted surface of the body; damaged paint will interfere with proper bonding.
- Remove the rubber dams and the upper clips from the body.

9. Clean the body bonding surface with a shop towel dampened in isopropyl alcohol. After cleaning, keep oil, grease, and water from getting on the clean surface.

10. If the old windshield will be reinstalled, scrape off all of the old adhesive, the upper clips and the rubber dams from the windshield with a putty knife. Clean the inside face and the edge of the windshield with isopropyl alcohol where new adhesive is to be applied. Make sure the bonding surface is kept free of water, oil, and grease.

11. Apply glass primer to the upper clips mounting areas on the windshield (E), and let it dry. Remove the adhesive backing, and attach the rubber dams A, rubber dams B, rubber dams C, rubber dams D, and the upper clips (F) to the inside of the windshield as shown:

- Make sure the rubber dams and the upper clips line up with the alignment marks (G).
- Be careful not to touch the windshield where adhesive will be applied.





12. Attach the windshield molding (A) with adhesive tape (B) to the edge of the windshield (C):

- Make sure each corner of the molding lines up with the ones of the windshield.
- Be careful not to touch the windshield where adhesive will be applied.





13. Set the windshield (A) in the opening, and center it.
Make alignment marks (B) across the windshield and the body with a grease pencil at the four points shown. Make sure the upper clips (C) contact with the edge of the body holes. Be careful not to touch the windshield where adhesive will be applied.





14. Remove the windshield.

15. With a sponge, apply a light coat of glass primer to the windshield (A) along the edge of the molding (B) and the rubber dams (C) as shown, then lightly wipe it off with gauze or cheesecloth:

- With the printed dots (D) on the windshield as a guide, apply glass primer to the bottom (E) of the windshield.
- Apply glass primer to the molding.
- Do not apply body primer to the windshield, and do not mix up the body primer applicators and the glass primer applicators.
- Never touch the primed surfaces with your hands. If you do, the adhesive may not bond to the windshield properly, causing a leak after the windshield is installed.
- Keep water, dust, and abrasive materials away from the primed surface.





16. With a sponge, carefully apply a light coat of body primer to any exposed paint or metal around the flange where the new adhesive will be applied. Let the body primer dry for at least 10 minutes:

- Do not apply body primer to any remaining original adhesive on the flange.
- Be careful not to mix up the body primer applicators and the glass primer applicators.
- Never touch the primed surfaces with your hands.
- Cover the dashboard before applying the primer.





17. Cut a "V" in the end of the nozzle (A) on the adhesive cartridge as shown.






18. Pack adhesive into the cartridge without air pockets to ensure continuous delivery. Put the cartridge in a caulking gun, and run a bead of adhesive (A) around the windshield (B) along the edge of the windshield molding (C) and the rubber dams (D) as shown:

NOTE:

- Apply the adhesive within 30 minutes after applying the glass primer. Make a slightly thicker bead at each corner.
- Apply glass primer to the bottom (E) of the windshield.
- Apply glass primer to the molding.





19. Hold the windshield with suction cups over the opening, align it with the alignment marks made in step 13, and set it down on the adhesive. Lightly push on the windshield until its edges are fully seated on the adhesive all the way around.

NOTE: Do not open or close any of the doors for about an hour until the adhesive is dry.

20. Remove the excess adhesive with a putty knife or a shop towel dampened with isopropyl alcohol.

21. Wait at least an hour for the adhesive to dry, then spray water over the windshield and check for leaks. Mark leaking areas, and let the windshield dry, then seal with sealant. Let the vehicle stand for at least 4 hours after windshield installation. If the vehicle has to be used within the first 4 hours, it must be driven slowly.

22. Reinstall all remaining removed parts.

NOTE: Advise the customer not to do the following things for 2 to 3 days:

- Slam the doors with all the windows rolled up.
- Twist the body excessively (such as when going in and out of driveways at an angle or driving over rough, uneven roads).