Curiosii for ever!
: Car repair manuals for everyone.
Home
>>
Honda
>>
2011
>>
Insight L4-1.3L Hybrid
>>
Repair and Diagnosis
>>
Starting and Charging
>>
Power and Ground Distribution
>>
Relay Box
>>
Application and ID
>>
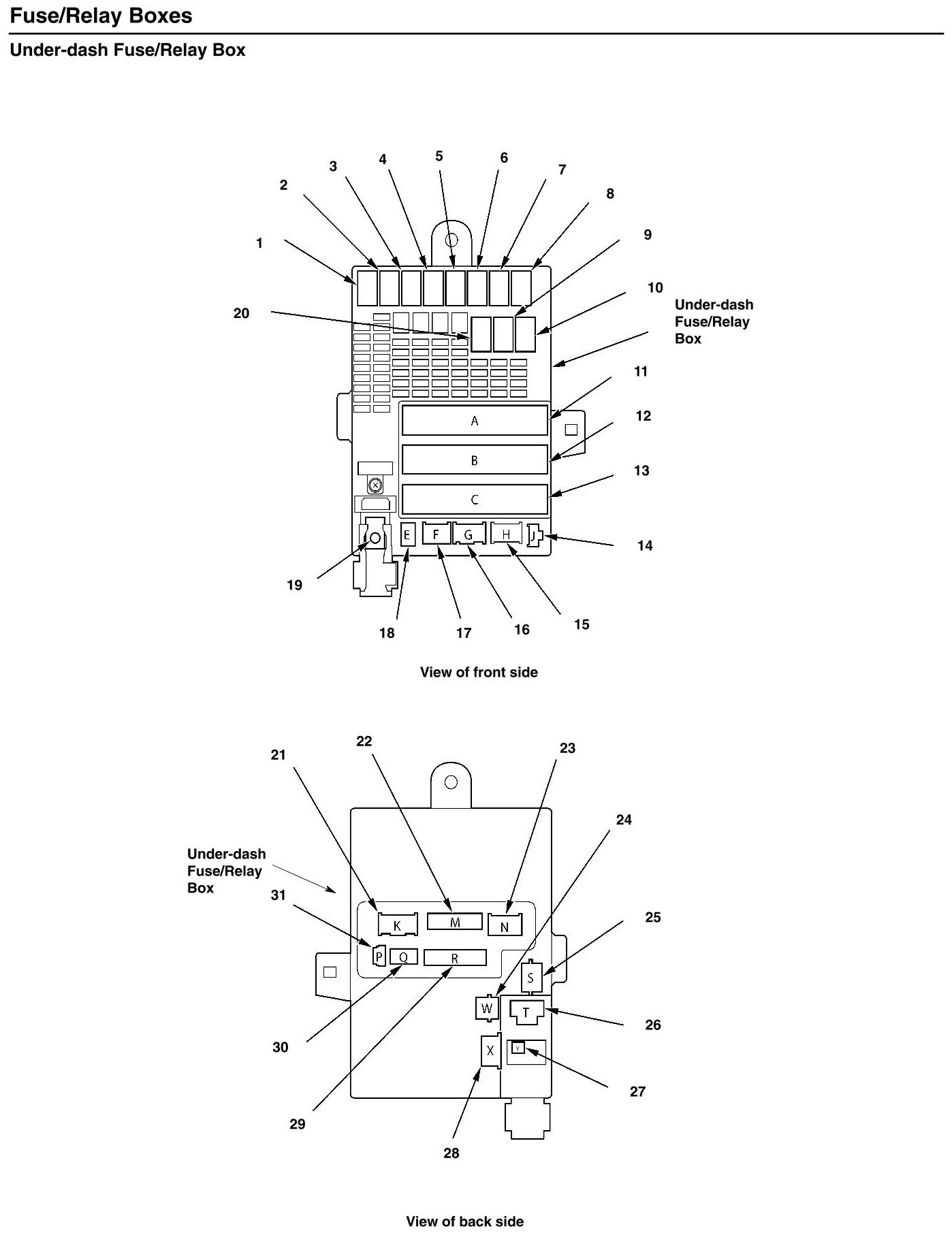
Under-Dash Fuse/Relay Box - Connector-To-Fuse/Relay Box Index
Under-Dash Fuse/Relay Box - Connector-To-Fuse/Relay Box Index