Curiosii for ever!: Car repair manuals for everyone.

Ambient Temperature Sensor / Switch HVAC: Service and Repair




Outside Air Temperature Sensor Replacement

1. Remove the front grille cover Front Grille Cover Replacement.

2. Remove the outside air temperature sensor clip (A) from front bumper beam.






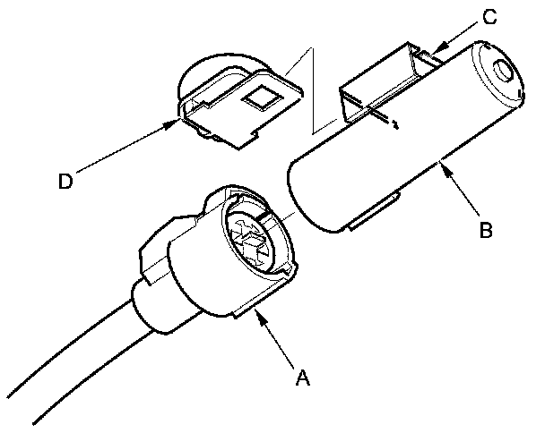
3. Disconnect the 2P connector (A) from the outside air temperature sensor (B).






4. Lift the tab (C) to release the lock, then remove the outside air temperature sensor (B) from the clip (D).

5. Install the sensor in the reverse order of removal.