Curiosii for ever!: Car repair manuals for everyone.

Radiator Support: Service and Repair





Front Bulkhead

Removal

Mass production body welding positions and numbers







Construction

NOTE:
- This section explains the procedures after removal of all related parts. For the related parts' removal procedure.
- The component replacement procedure described here refers to recyclable parts removed from damaged units. Therefore, this procedure differs from that where off-the-shelf repair parts are installed.
- Remove the bulkhead upper center frame and replace the bulkhead upper side frame, the bulkhead side stay, and the bulkhead lower crossmember.
- Replace the bulkhead lower crossmember and the lower crossmember stiffener as an assembly.







Installation







1. Set the new bulkhead parts, and fix the bulkhead side stay and the bulkhead upper center frame with the mounting bolts. Measure the front compartment diagonally.
2. Check the body dimensions.
- Engine compartment
- Front wheelhouse lower member position
- Engine compartment and front floor, under view
- Repair chart, top view
- Repair chart, side view

3. Tack weld the new parts into position.
4. Temporarily install the front fender, the hood, and the door, then check for differences in level and clearance. Check the external parts fitting position. If necessary, check the headlight and the front bumper positions. Make sure the body lines flow smoothly.
5. Do the main welding.
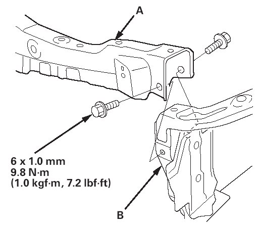
Weld the bulkhead side stay (A) to the front side frame (B), and the bulkhead lower crossmember (C). Weld the lower crossmember stiffener (D) and the wheelhouse lower extension (E).







6. Weld the bumper beam bracket (A) and the front side frame (B). Weld the bulkhead lower crossmember (C) to the bulkhead side stay (D), and the wheelhouse lower member (E). Weld the lower crossmember stiffener (F) and the bulkhead side stay.







7. Remove the bulkhead upper center frame, and weld the bulkhead upper side frame (A), the bulkhead side stay (B), and the side stay plate (C).







8. Weld the bulkhead upper side frame (A) and the wheelhouse lower extension (B).







9. Install the bulkhead upper center frame (A) to the bulkhead side stay (B).