Curiosii for ever!: Car repair manuals for everyone.

Wiper Motor: Service and Repair




Wiper Motor Replacement

Removal

NOTE: Be careful not to scratch or damage the hood and the body.

1. Remove the wiper arms Service and Repair.

2. Remove the cowl cover Service and Repair.

3. Disconnect the 5P connector (A) from the wiper motor (B).





4. Remove the four bolts and the wiper linkage assembly (C).

5. Mark lines (A) to show the original adjustment, then remove the connection rod (B) from the linkage (C).





6. Remove the three bolts and the separate the wiper motor (D) from the linkage assembly (E) through the hole.

Installation

1. Before installing the motor, connect the 5P connector to the wiper motor, and turn the wiper/washer switch ON to LO or HI position, then OFF to return the motor shaft to the park position.

NOTE:

- Do not use the wiper/washer switch INT position in this step.
- Apply multipurpose grease to the moving parts.

2. Install the wiper motor to the wiper linkage assembly in the reverse order of removal.

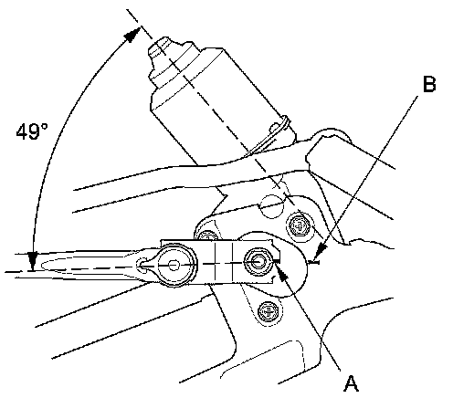
3. Install the linkage to the wiper motor shaft, then align the mark (A) of the linkage and the mark (B) of the wiper linkage assembly.

NOTE: The linkage should be installed at the angle specified below.





4. After installation, adjust the wiper arms Adjustments.

Rear Window

NOTE: Be careful not to scratch or damage the tailgate.

1. Remove the rear window wiper arm Service and Repair.

2. Open the tailgate, and remove the tailgate lower trim panel .

3. Disconnect the 4P connector (A) from the rear window wiper motor (B).





4. Remove the three bolts and the rear window wiper motor.

5. Install in the reverse order of removal, and note these items:

- Grease the moving parts.
- Before reinstalling the wiper arm, turn the rear window wiper switch ON, then OFF to return the wiper shaft to the park position.
- Check the wiper motor operation.