Curiosii for ever!: Car repair manuals for everyone.

Front Door Window Regulator: Service and Repair




Front Door Glass and Regulator Replacement

NOTE:

- Put on gloves to protect your hands.
- Take care not to scratch the door or related parts.

1. Remove the these items:

- Door panel Service and Repair
- Speaker Speaker Test/Replacement

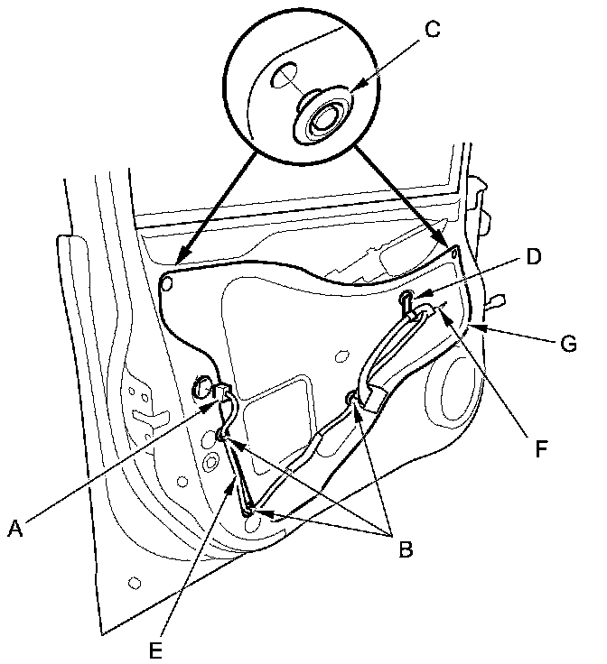
2. With power door lock: Disconnect the power door lock actuator connector (A), and detach the harness clips (B).





3. Remove the plug caps (C), and detach the harness clip (D). Pass the wire harnesses (E) through the slit (F) in the plastic cover (G), then remove the plastic cover.

NOTE: If the plastic cover is damaged or torn, replace it.

4. Carefully raise the glass (A) until you can see the bolts, then remove them. Carefully pull the glass out through the window slot.

NOTE: Take care not to drop the glass inside the door.






5. Disconnect the connector (A) from the regulator (B).





6. Remove the bolts, and release the hooks, then remove the regulator through the hole in the door.

7. Apply multipurpose grease to all the sliding surfaces of the regulator (A) where shown.





8. Install the glass and regulator in the reverse order of removal, and note these items:

- Move the glass up and down to make sure it moves freely without binding.
- Make sure that there is no clearance between the glass and glass run channel when the glass is closed.
- Adjust the position of the glass as necessary Adjustments.
- Driver's door: Do the power window control unit reset procedure Testing and Inspection.
- When reinstalling the door panel, make sure the plastic cover is installed properly and sealed around its outside perimeter to seal out water.
- Check for water leaks.
- Test-drive, and check for wind noise and rattles.
- Make sure the power door locks, the windows, and the power mirror operate properly.