Curiosii for ever!: Car repair manuals for everyone.

Heated Glass Element Switch: Service and Repair




Rear Window Defogger Switch Test/Replacement

1. Remove the heater control panel Heater Control Panel Removal/Installation.

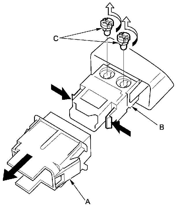
2. Disconnect the 5P connector (A), and remove the rear window defogger switch (B).






3. Check for continuity between the terminals in each switch position according to the table.






4. If the continuity is not as specified, remove the cover (A), and replace the switch (B) or bulb (C).