Curiosii for ever!: Car repair manuals for everyone.

Front Impact Sensor Replacement




Front Impact Sensor Replacement

Removal

1. Do the battery terminal disconnection procedure, then wait at least 3 minutes before starting work.

2. Remove the front grille cover Front Grille Cover Replacement.

3. Remove the TORX bolt (A) using a TORX T30 bit, then remove the front impact sensor (B).






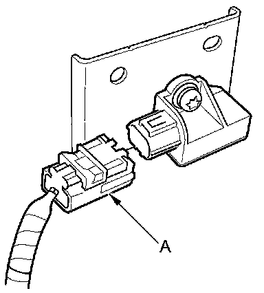
4. Disconnect the left or right front impact sensor 2P connector (A).






Installation

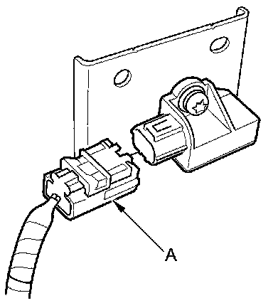
1. Connect the left or right front impact sensor 2P connector (A).






2. Install the front impact sensor with a new TORX bolt (A), using a TORX T30 bit.





3. Do the battery terminal reconnection procedure.

4. Clear any DTCs with the HDS.

5. Confirm proper SRS operation: Turn the ignition switch to ON (II), and check that the SRS indicator comes on for about 6 seconds and then goes off.

6. Reinstall all removed parts.