Curiosii for ever!: Car repair manuals for everyone.

Front Individual Map Light Test/Replacement (Without Navigation)




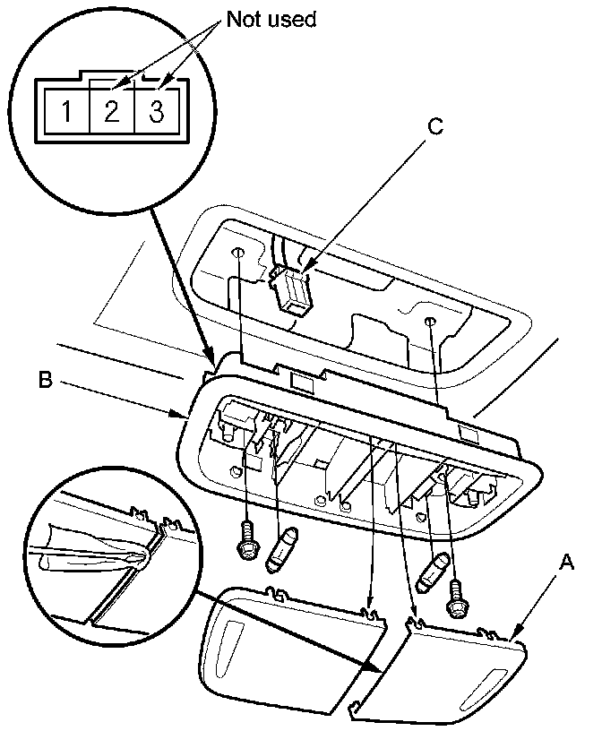
Front Individual Map Light Test/Replacement

Without navigation

1. Turn the individual map light switch OFF.

2. Carefully pry the lens (A) off with a small screwdriver.









3. Remove the screws, then remove the individual map light (B).

4. Disconnect the connector (C) from the individual map light.

5. Check for continuity between the terminals.

- There should be continuity between terminal No. 1 and the ground terminal with the switch in the ON position.
- There should be no continuity between terminal No. 1 and the ground terminal with the switch in the OFF position.

6. If the continuity is not as specified, check the bulb. If the bulb is OK, replace the individual map light.

7. Install the light in the reverse order of removal.