Curiosii for ever!: Car repair manuals for everyone.

Piston, Pin, And Connecting Rod Replacement




Piston, Pin, and Connecting Rod Replacement

Special Tools Required

- Piston Base 07973-6570500
- Piston Base Spring 07973-6570600
- Pilot Pin 070AF-PWC0110
- Piston Base Head 07TGF-001000A
- Pilot Collar, O.D. 18 mm 070AF-PWC0130
- Insert Adjust 070AF-PWC0120
- Adjustable Piston Pin Driver Head 07973-6570201

Disassembly

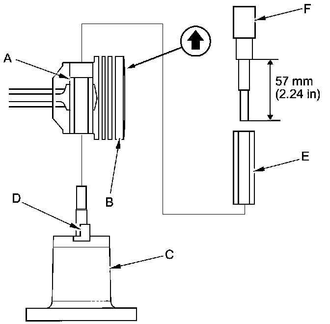
1. Assemble the special tool as shown.






2. Temporarily install the pilot collar, O.D. 18 mm over the pilot pin (A), and adjust the piston base head as shown, then tighten the screws (B). Remove the pilot collar.






3. Assemble and adjust the length of the adjustable piston pin driver head and insert adjust to 57 mm (2.24 in).






4. With the arrow on top of the piston pointing up, place the piston assembly (A) on the piston base head (B).
Be sure you position the recessed flat area of the piston against the area of the piston base head (C) as shown.





5. Press the pin (D) out with the adjustable piston pin driver head and insert adjust (E), the pilot collar (F), and a hydraulic press.

Inspection

NOTE: Inspect the piston, the piston pin, and the connecting rod when they are at room temperature.

1. Measure the diameter of the piston pin.

Piston Pin Diameter










2. Zero the dial indicator to the piston pin diameter.






3. Check the difference between the piston pin diameter and the piston pin hole diameter in the piston.

Piston Pin-to-Piston Clearance










4. Check the difference between the piston pin diameter and connecting rod small end diameter.

Piston Pin-to-Connecting Rod Interference










Reassembly

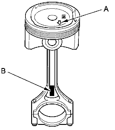
1. Assemble the piston and the connecting rod with the arrow (A) and the embossed mark (B) on the same side.






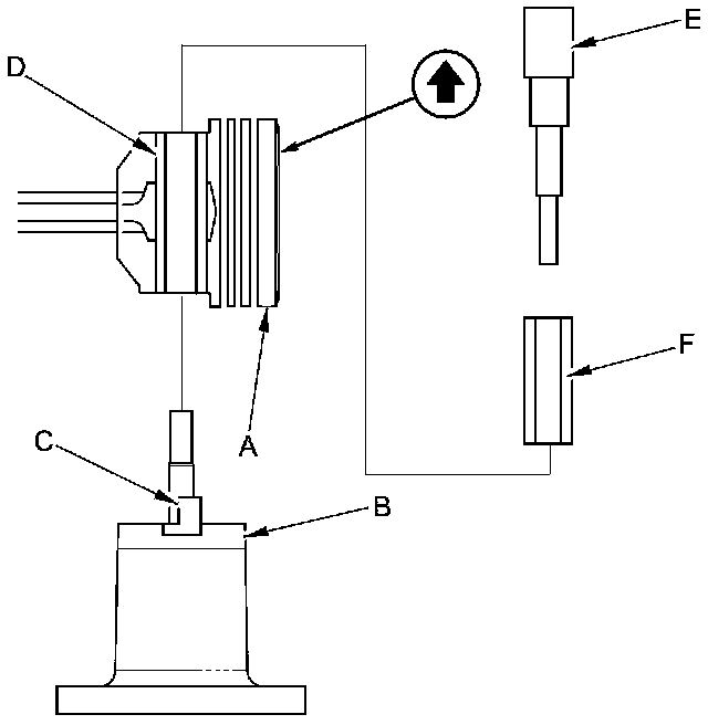
2. Insert the pilot collar (A) into the piston and the connecting rod.





3. With the arrow on top of the piston and the embossed mark on the connecting rod facing up, place the piston assembly (B) on the piston base head (C). Be sure you position the recessed flat area of the piston against the area of the piston base head (D) as shown.

4. Press the pin (E) in with the adjustable piston pin driver head and insert adjust (F) and a hydraulic press.