Curiosii for ever!: Car repair manuals for everyone.

Connecting Rod Bolt Inspection




Connecting Rod Bolt Inspection

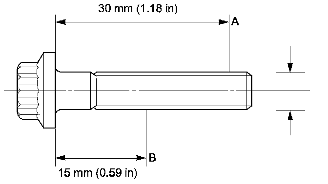
1. Measure the diameter of each connecting rod bolt at point A and point B.





2. Calculate the difference in diameter between point A and point B.

Point A-Point B = Difference in Diameter

Difference in Diameter:





3. If the difference in diameter is out of tolerance, replace the connecting rod bolt.