Curiosii for ever!: Car repair manuals for everyone.

Front Impact Sensor Replacement




Front Impact Sensor Replacement

Removal

1. Do the battery terminal disconnection procedure Procedures, then wait at least 3 minutes before starting work.

2. Remove the front inner fender

- 4-door Front Inner Fender Replacement (4-Door)
- 2-door Front Inner Fender Replacement (2-Door)

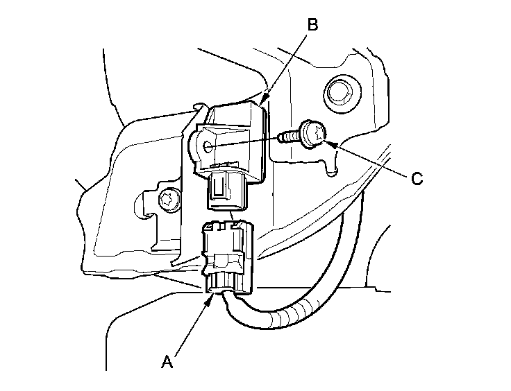
3. Disconnect the engine compartment wire harness 2P connector (A) from the front impact sensor (B).





4. Remove the TORX bolt (C) using a TORX T30 bit, then remove the front impact sensor.

Installation

1. Install the front impact sensor (A) with the new TORX bolt (B), using a TORX T30 bit.





2. Connect the engine compartment wire harness 2P connector (C) to the front impact sensor.

3. Do the battery terminal reconnection procedure Procedures.

4. Clear any DTCs.

5. Confirm proper SRS operation: Turn the ignition switch to ON (II), and check that the SRS indicator comes on for about 6 seconds and then goes off.

6. Reinstall all removed parts.