Curiosii for ever!: Car repair manuals for everyone.

SRS Unit Replacement




SRS Unit Replacement

Removal

NOTE: If you are only disconnecting SRS unit connector A, skip step 2.

1. Do the battery terminal disconnection procedure Procedures, then wait at least 3 minutes before starting work.

2. Disconnect both front seat belt tensioner 4P connectors and both front seat belt buckle tensioner 4P connectors.

3. Remove the center console Center Console Removal/Installation.

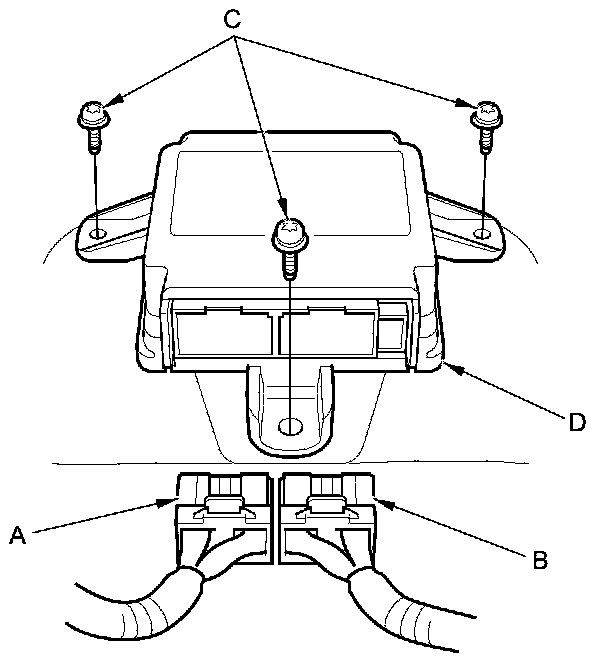
4. Disconnect SRS unit connectors A (28P) and B (28P), then remove the TORX bolts (C) using a TORX T30 bit, then pull out the SRS unit (D).






Installation

1. Install the SRS unit (A) with the new TORX bolts (B), using a TORX T30 bit, then connect the connectors (C) to the SRS unit; push them into position until they click.

NOTE: Be sure the SRS unit is sitting squarely against its bracket before torquing the TORX bolt.





2. Reconnect both front seat belt tensioner 4P connectors and both front seat belt buckle tensioner 4P connectors.

3. Do the battery terminal reconnection procedure Procedures.

4. Do the ODS unit initialization Programming and Relearning.

5. Check the operation of the ODS unit with the HDS ODS Unit Operation Check.

6. Confirm proper SRS operation: Turn the ignition switch to ON (II), and check that the SRS indicator comes on for about 6 seconds and then goes off.

7. Reinstall all removed parts.