Curiosii for ever!: Car repair manuals for everyone.

Multiplex Integrated Control System Description




Multiplex Integrated Control System Description

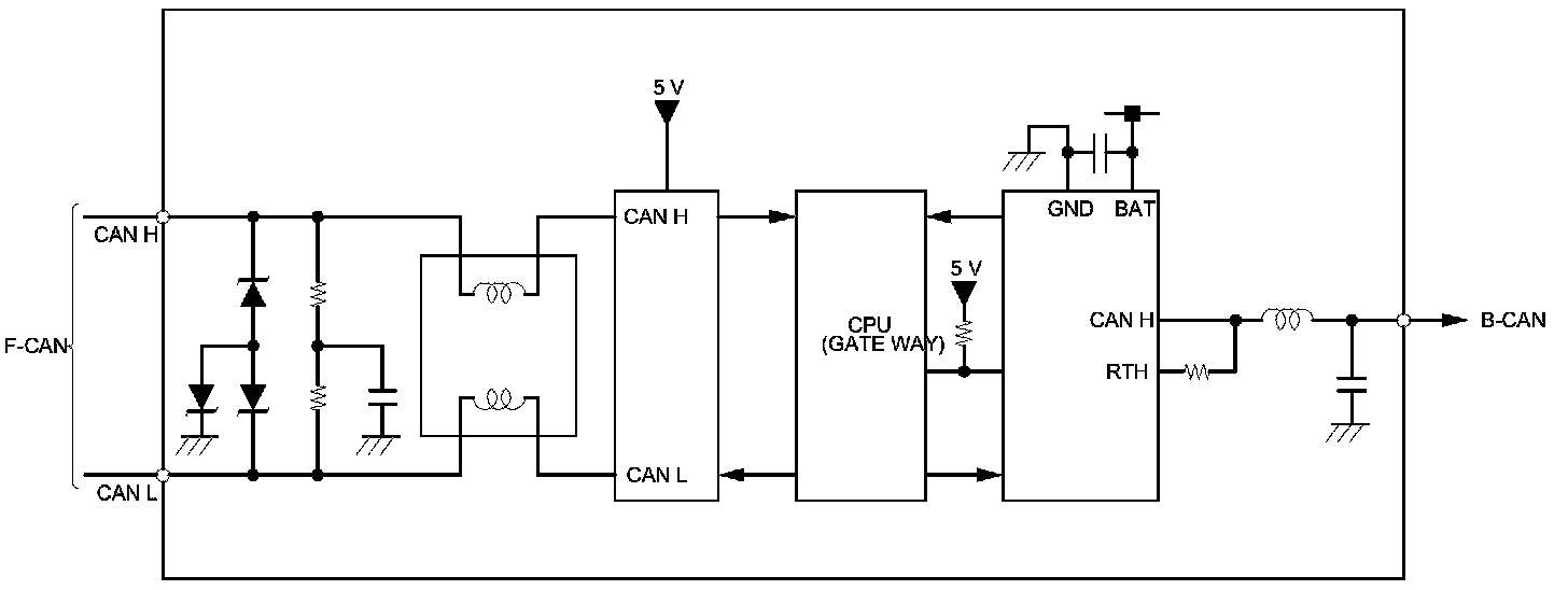
Body Controller Area Network (B-CAN) and Fast Controller Area Network (F-CAN)

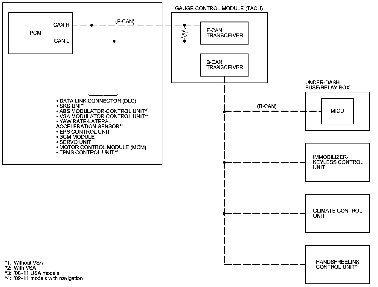
The body controller area network (B-CAN) and the fast controller area network (F-CAN) share information between multiple electronic control units (ECUs). B-CAN communication moves at a slower speed (33.33 kbps) for convenience related items and for other functions. F-CAN information moves at a faster speed (500 kbps) for " real time" functions such as fuel and emissions data. To allow both systems to share information, the gauge control module translates and relays the information from B-CAN to F-CAN and from F-CAN to B-CAN. This is called the Gateway Function.





- The single wire method is used between the units not requiring the communication to move at a faster speed.
- Using a single wire method reduces the number of the wires used on the body controller area network.

Gateway Function

The gauge control module (tach) acts as a gateway to allow both systems to share information, the gauge control module translates information from B-CAN to F-CAN and from F-CAN to B-CAN.






Network " Loss of Communication" Error Checking Function

The ECUs on the CAN circuit send messages to each other. If there are any malfunctions on the network, the odometer/trip meter display on the gauge control module can indicate the error messages by entering the gauge self-diagnostic function Initial Inspection and Diagnostic Overview. There are three types of messages as follows:

Error Code List





NOTE: For further information about Error indication, refer to the Gauge Control Module Self-Diagnostic Function Initial Inspection and Diagnostic Overview.






Self-Diagnostic Function

By connecting the HDS to the data link connector (DLC), the HDS can retrieve and indicate the diagnostic results from the MICU via a diagnostic line called the K-LINE. The K-LINE is a separate communication lines from the CAN line, but it is connected to most of the CAN related ECUs. The MICU is a gateway between the HDS and B-CAN related ECUs, and sends B-CAN diagnostic information to the HDS. When doing a function test with the HDS, the HDS sends an output signal through the K-LINE to the MICU. The MICU either relays the request to another ECU, or commands the function itself.






Wake-Up and Sleep Function

The multiplex integrated control system has " wake-up" and " sleep" functions to decrease parasitic draw on the battery when the ignition switch in LOCK (0).

- In the sleep mode, the MICU stops functioning (communication and CPU control) when it is not necessary for the system to operate.
- As soon as any operation is requested (for example, a door is unlocked), the related control unit in the sleep mode immediately wakes up and begins to function.
- When the ignition switch is turned to LOCK (0), and the driver's door is opened, then closed, there is a delay of about 40 seconds before the control unit goes from the wake-up mode to the sleep mode.
- The sleep mode will not function if any door is open or if a key is in the ignition switch.
- The draw is reduced from 200 mA to less than 35 mA when in the sleep mode.

NOTE: Sleep and Wake-Up Mode Test Multiplex Integrated Control System Sleep and Wake-up Mode Test.

Fail-Safe Function

To prevent improper operation, the MICU has a fail-safe function. In the fail-safe mode, the output signal is fixed when any part of the system malfunctions (for example, a faulty control unit or communication line).

Each control unit has a hardware fail-safe function that fixes the output signal when there is a CPU malfunction, and a software fail-safe function that ignores the signal from a malfunctioning control unit, which allows the system to operate normally.

Hardware Fail-Safe Control

When a CPU problem or an abnormal power supply voltage is detected, the MICU moves to the hardware fail-safe mode, and each system output load is set to a pre-programmed fail-safe value.

Software Fail-Safe Control

When any of the data from the B-CAN circuit cannot be received within a specified time, or an unusual combination of data is recognized, the MICU moves to the software fail-safe mode. The data that was not be received is then assigned a pre-programmed fail-safe value.

Power Supply Voltage Monitoring Function

The MICU monitors the power supply voltage (back-up voltage). If the voltage goes below 10 V, the MICU sends a MICU message and will not store DTCs.






Entry Lights Control System*

The MICU control of the ceiling light ON/OFF and dimming is based on inputs from each switch and B-CAN data.





*: This system can be customized in the odometer/trip meter display to suit the customer's needs. For more information about customizing options, refer to the Owner's Manual.

Lighting System (Headlights, Parking Lights, Side Marker Lights, License Plate Lights, and Taillights)*

The MICU contains the relay circuits for the headlight high/low beams and taillights, and controls the lighting system ON/OFF based on inputs from the combination light switch.





*: This system can be customized in the odometer/trip meter display to suit the customer's needs. For more information about customizing options, refer to the Owner's Manual.

Daytime Running Lights

The MICU control of the exterior lights as daytime running lights is based on inputs from each switch.






Turn Signal/Hazard Warning Lights

The MICU control of the turn signal/hazard warning lights is based on inputs from the turn signal switch and hazard warning switch.






Power Door Locks (Vehicle Speed Sensor)*

The MICU control of the door lock actuators is based on the B-CAN signals and inputs from each switch.





*: This system can be customized in the odometer/trip meter display to suit the customer's needs. For more information about customizing options, refer to the Owner's Manual.

Power Door Locks (Normally LOCK/UNLOCK Operation)*

The MICU control of the door lock actuators is based on inputs from each switch.





This system can be customized in the odometer/trip meter display to suit the customer's needs. For more information about customizing options, refer to the Owner's Manual.

Door Lock Response Operation*

The MICU control of the door lock actuators is based on the B-CAN data.





*: This system can be customized in the odometer/trip meter display to suit the customer's needs. For more information about customizing options, refer to the Owner's Manual.

Power Windows Key-Off Operation

The MICU control of the power windows key-off operation is based on inputs from each switch.






Keyless Entry System*

The MICU control of the door lock actuators is based on inputs from each switch and the B-CAN data.





*: This system can be customized in the odometer/trip meter display to suit the customer's needs. For more information about customizing options, refer to the Owner's Manual.

Keyless Panic Function

The MICU control of the keyless PANIC function is based on the B-CAN data.






Security Alarm System*

The MICU control of the lighting system and horn is based on inputs from each switch and the B-CAN data.





*: This system can be customized in the odometer/trip meter display to suit the customer's needs. For more information about customizing options, refer to the Owner's Manual.

Key-In Reminder

The MICU control of the door lock actuators is based on inputs from each switch.






Key Interlock

The MICU control of the key interlock solenoid is based on inputs from each switch.






Answer Back Response Operation*

The MICU control of the exterior lights and horn is based on keyless signals sent by B-CAN data.





*: This system can be customized in the odometer/trip meter display to suit the customer's needs. For more information about customizing options, refer to the Owner's Manual.

Windshield Wiper/Washer

The MICU control of the windshield wiper motor and the windshield washer motor is based on inputs from each switch and the B-CAN data.






Collision Detection Signal (CDS)

The MICU control of the door lock actuators is based on IG1 and the B-CAN data.






HDS Inputs and Commands

Certain inputs happen so quickly that the HDS cannot update fast enough. Hold the switch that is being tested while monitoring the Data List. This should give the HDS time to update the signal on the Data List.

Because the HDS software is updated to support the release for newer vehicles it is not uncommon to see system function tests that are not supported.

Make sure that the most current software is loaded.

Input:

















Function Test: