Curiosii for ever!: Car repair manuals for everyone.

Heater Core Temperature Sensor / Switch: Service and Repair




Heater Core Temperature Sensor Replacement

1. Remove the driver's dashboard undercover Driver's Dashboard Undercover Removal/Installation.

2. Remove the center console Center Console Removal/Installation.

3. Remove the accelerator pedal module.

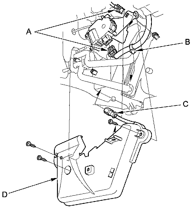
4. Disconnect the connectors (A) from the air mix control motor and heater core temperature sensor, then detach the harness clip (B) and the connector clip (C). Remove the self-tapping screws and the heater core cover (D).






5. Remove the heater core sensor (A).





6. Install the sensor in the reverse order removal.