Curiosii for ever!: Car repair manuals for everyone.

Transmission Position Sensor/Switch: Service and Repair




Transmission Range Switch Replacement

1. Apply the parking brake, and move the shift lever to N.

2. Remove the air cleaner Service and Repair.

3. Disconnect the transmission range switch 8P connector (A), and remove the control shaft cover (B).





4. Remove the transmission range switch (C).

5. Make sure the selector control shaft is in the N position. If necessary, move the shift lever from P to N.

NOTE: Do not use the selector control shaft to adjust the shift position. If the selector control shaft tips are squeezed together it will cause a faulty signal or position due to play between the selector control shaft and the transmission range switch.






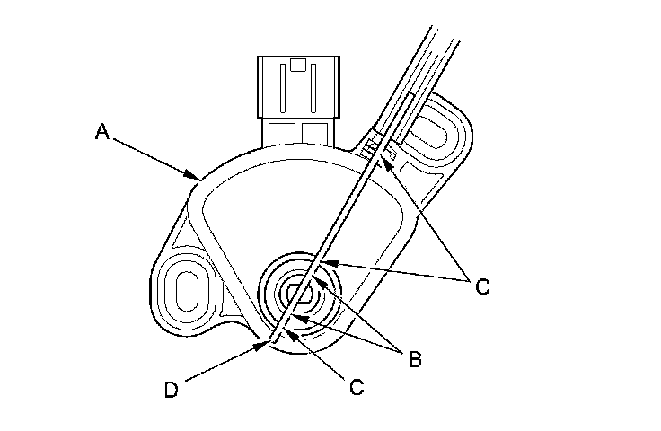
6. Set a new transmission range switch (A) to the N position, align the cutouts (B) on the rotary-frame with the neutral positioning cutouts (C) on the transmission range switch. Then put a 2.0 mm (0.079 in) feeler gauge blade (D) in the cutouts to hold the transmission range switch in the N position.

NOTE: Be sure to use a 2.0 mm (0.079 in) feeler gauge blade or equivalent to hold the transmission range switch in the N position.






7. Install the transmission range switch (A) gently on the selector control shaft (B) while holding it in the N position with the 2.0 mm (0.079 in) feeler gauge blade (C).






8. Tighten the bolts (A) on the transmission range switch while you continue to hold the N position with the 2.0 mm (0.079 in) feeler gauge blade (B). Do not move the transmission range switch when tightening the bolts. Then remove the 2.0 mm (0.079 in) feeler gauge blade.






9. Install the selector control shaft cover (A) on the transmission range switch (B).





10. Check the connector for rust, dirt, or oil, clean or repair if necessary, then connect the transmission range switch 8P connector (C) securely.

11. Turn the ignition switch to ON (II). Move the shift lever through all positions, and check the transmission range switch synchronization with the A/T gear position indicator.

12. Check that the engine will start with the shift lever in P and N, and will not start in any other shift lever position.

13. Check that the back-up lights come on when the shift lever is in R.

14. Raise the vehicle on a lift, or apply the parking brake, block the rear wheels, and raise the front of the vehicle. Make sure it is securely supported, and allow the front wheels to rotate freely.

15. Start the engine, and check the shift lever operation.

16. Install the air cleaner Service and Repair.