Curiosii for ever!: Car repair manuals for everyone.

CMP Sensor Replacement




CMP Sensor Replacement

1. Remove the air cleaner Service and Repair.

2. Remove the cowl cover and the under-cowl panel.

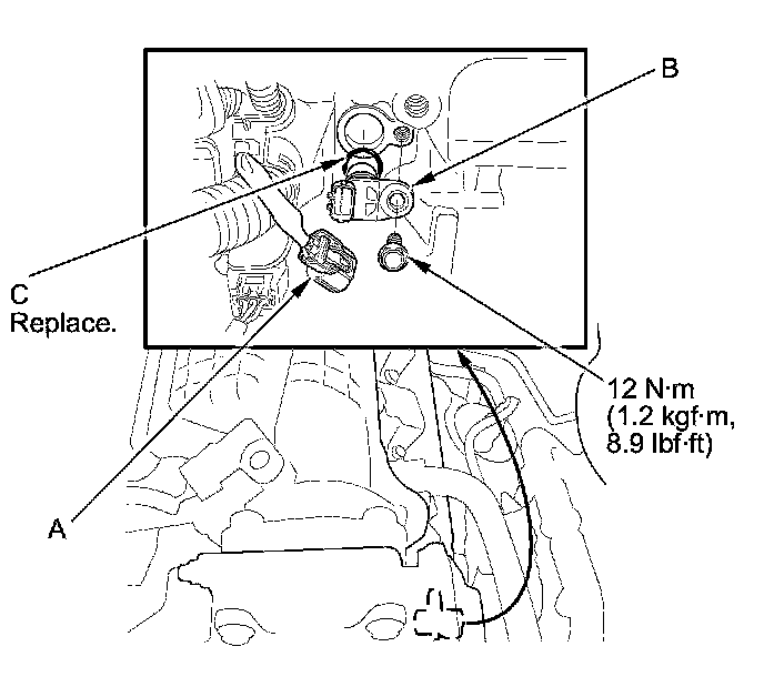
3. Disconnect the CMP sensor connector (A).





4. Remove the CMP sensor (B).

5. Install the sensor in the reverse order of removal with a new O-ring (C).