Curiosii for ever!: Car repair manuals for everyone.

Console Accessory Power Socket Test/Replacement




Console Accessory Power Socket Test/Replacement

NOTE: If all of the front and console accessory power sockets do not work, check the No. 18 (7.5 A) fuse in the driver's under-dash fuse/relay box and ground (G503) first.

1. Remove the center console rear trim Center Console Rear Trim Removal/Installation.

2. Disconnect the 2P connector (A) from the console accessory power socket (B).

'08-10 models





'11 model





3. Inspect the connector terminals to be sure they are all making good contact.

- If the terminals are bent, loose, or corroded, repair them as necessary and recheck the system.
- If the terminals look OK, go to step 4.

4. Turn the ignition switch to ACCESSORY (I).

5. Measure the voltage between console accessory power socket relay terminal No. 3 and body ground. There should be less than 0.2 V.

- If there is less than 0.2 V, go to step 6.
- If there is more than 0.2 V, check for:
- An open or high resistance in the wire between console accessory power socket relay terminal No. 3 and body ground (G503).
- Poor ground (G503).

6. Measure the voltage between console accessory power socket 2P connector terminal No. 1 and body ground. There should be battery voltage.

- If there is battery voltage, go to step 7.
- If there is no voltage, check for:
- A blown No. 12 (15 A) fuse in the passenger's under-dash fuse/relay box.
- A faulty console accessory power socket relay.
- An open or high resistance in the wire between console accessory power socket relay terminal No. 1 and console accessory power socket 2P connector terminal No. 1.

7. Check for continuity between the console accessory power socket terminal No. 2 and body ground. There should be continuity.

- If there is continuity, replace the power socket; go to step 8.
- If there is no continuity, check for:
- Poor ground (G503).
- An open or high resistance in the wire between console accessory power socket 2P connector terminal No. 2 and body ground (G503).

8. Remove the center console.

9. Gently press the tabs (A) and remove the socket (B).

'08-10 models





'11 model





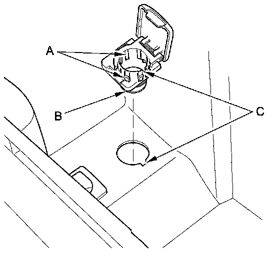
10. Gently depress the tabs (A), then remove the housing (B) from the panel. Note the location of the indexing tabs (C).

'08-10 models





'11 model





11. Install the power socket in the reverse order of removal.