Curiosii for ever!: Car repair manuals for everyone.

Accessory Control Display: Service and Repair




Interface Dial Removal/Installation

NOTE:

- Put on gloves to protect your hands.
- Take care not to scratch the dashboard and related parts.
- Lay a shop towel under the parts when working on them to protect the face panel from scratches or other damage.

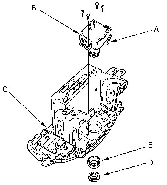
1. Remove the audio unit Audio Unit Removal/Installation (With Navigation).

2. Remove the self-tapping screw and harness cover (A).






3. Remove the screws, and disconnect the interface dial 13P connector (A).

NOTE: If the hard buttons do not work, but the jog dial does, recheck the interface dial connector connection.





4. Remove the interface dial (B) from the audio switch panel (C).

NOTE: Apply pressure slowly and steady until the knob (D) and dial (E) pops off.

5. Install the dial in the reverse order of removal.