Curiosii for ever!: Car repair manuals for everyone.

CVT System Description - Electronic Control System




CVT System Description - Electronic Control System

Electronic Control System

Electronic Control

The electronic control system consists of the PCM, sensors, switches, and solenoid valves.

The PCM receives input signals from sensors, switches, other control units, processes data, and outputs signals for the engine control system and the CVT control system. The CVT control system includes shift control, pulley pressure control, start clutch pressure control, and reverse inhibitor control. The PCM actuates the pulley control solenoid valves to control pulley control valves A and B shifting transmission pulley ratios.






Pulley Pressure Control/Shift Control

To reduce steel belt slippage and increase steel belt life, the PCM calculates signals from sensors and switches, and actuates the pulley pressure control solenoid valves to maintain optimum pulley pressure. When the pulley ratio is low (low vehicle speed), high hydraulic pressure works on the movable face of the driven pulley and reduces the effective diameter of the drive pulley, and a lower hydraulic pressure works on the movable face of the drive pulley to eliminate the steel belt slippage. When the pulley ratio is high (high vehicle speed), high hydraulic pressure works on the movable face of the drive pulley and reduces the effective diameter of the drive pulley, and a lower hydraulic pressure works on the movable face of the driven pulley to eliminate the steel belt slippage.

The PCM compares actual driving conditions with programmed driving conditions to control shifting, and it instantly determines a drive pulley ratio from various signals sent from sensors and switches. The PCM activates the CVT drive pulley pressure control solenoid valve to control pulley pressure to the pulleys. The drive pulley drives the driven pulley via a steel belt at varying ratios ranging from 2.526 to 0.421 in D.






Grade Logic Control: Ascending Control

When the PCM determines that the vehicle is climbing a hill in the D and S positions, the system selects the most suitable shift schedule based on the steepness of the grade so the vehicle can run smoothly and have more power when needed.






Grade Logic Control: Descending Control

When the PCM determines that the vehicle is going down a hill in the D positions, the system selects the most suitable shift schedule based on the steepness of the grade so the vehicle can run smoothly in combination with engine braking.






Shift-Hold Control

When driving on winding roads, and the throttle is suddenly released and the brakes are applied, as is the case when decelerating at the entrance of a curve, the Shift-Hold Control keeps the transmission in its current (lower) ratio as it negotiates the corner and accelerates out. When the vehicle is driven aggressively on a winding road, the PCM will keep the engine speed on a higher-than-normal setting, so the vehicle can run smooth and have more power. The transmission will resume the normal setting after the PCM determines that normal driving has resumed.

ECON Mode ON

The CVT control system performs the following functions in the ECON Mode ON to improve fuel economy compared to ECON Mode OFF.

Change the shift map
The gear ratio pulley ratio is changed to make the engine speed lower under a constant acceleration pedal position (cruise) or a slow accelerating condition.





Reduce the engine speed increasing ratio
The engine speed is controlled by the PCM under an accelerating condition.

NOTE: When the accelerator pedal is pressed in a high amount, the CVT control system cancels the ECON Mode ON control function to ensure acceleration performance.






D-Paddle Shift Mode

To engage the D-paddle shift mode, press back on either of the steering wheel mounted paddle shifters while driving in the D position. In this mode, the transmission can downshift by pressing the (-) paddle shifter (downshift switch), or upshift by pressing the (+) paddle shifter (upshift switch). There are seven speeds, so each time the transmission is shifted using the paddles, the shift indicator in the gauge control module displays the current position. The display turns off when the transmission upshifts or downshifts automatically.






S-Paddle Shift Mode

The S position has two shifting modes; the sport driving mode and the S-paddle shift mode. In sport driving mode, the transmission automatically adjusts to keep the engine at a higher rpm than the D-position setting, and the steering wheel-mounted paddle shifters are ready to be activated to switch to the S-paddle shift mode. In the sport driving mode, the shift indicator and the M indicator in the gauge control module do not come on.
When the paddle shifter +(upshift switch) or paddle shifter -(downshift switch) is pressed, the sport driving mode is canceled and the S-paddle shift mode comes into operation. The shift indicator displays the number of the selected stage position, and the M indicator comes on. In the S-paddle shift mode, the driver can shift up and down manually from 1st through 7th stage positions by using the paddle shifters, much like a manual transmission. The paddle shifters are installed on the back of the steering wheel, and the driver can shift stage positions by pressing the paddle shifters without taking either hand off the steering wheel.

In the S-paddle shift mode, the transmission must be shifted up and down by pressing the paddle shifters. However, if the vehicle is coasting at a speed that would cause the engine to over-rev by downshifting, the transmission will not shift when the paddle shifter - (downshift switch) is pressed. The shift indicator blinks the number of the selected stage position several times, then returns to the current stage. If the vehicle speed reaches an appropriate speed while the shift indicator is blinking, the transmission downshifts and the shift indicator displays the selected stage. Likewise, if the vehicle speed is below an appropriate speed to upshift when the paddle shifter + (upshift switch) is pressed, the transmission will not shift. The shift indicator blinks the number of the selected stage several times, and then returns to the number of the current stage. If the vehicle speed reaches an appropriate upshift speed while the shift indicator is blinking, the transmission upshifts and the shift indicator displays the selected stage.
This mode has automatic upshifting areas to prevent engine over-revving, and downshifting areas so the vehicle can run smoothly with more power to cope with upcoming acceleration. When coasting, the transmission downshifts to the next lower stage if the vehicle slows down to the programmed speed, or by pressing the brake pedal.
When the transmission decelerates to a stop, the transmission shifts to 1st stage automatically. The transmission can be shifted to 2nd stage by pressing the paddle shifter +(upshift switch) while the vehicle is stopped, and the vehicle can start off in 2nd stage.

The S-paddle shift mode is canceled by moving the shift lever to any position other than S or pressing the paddle shifter+ (upshift switch) is held for about 2 seconds.






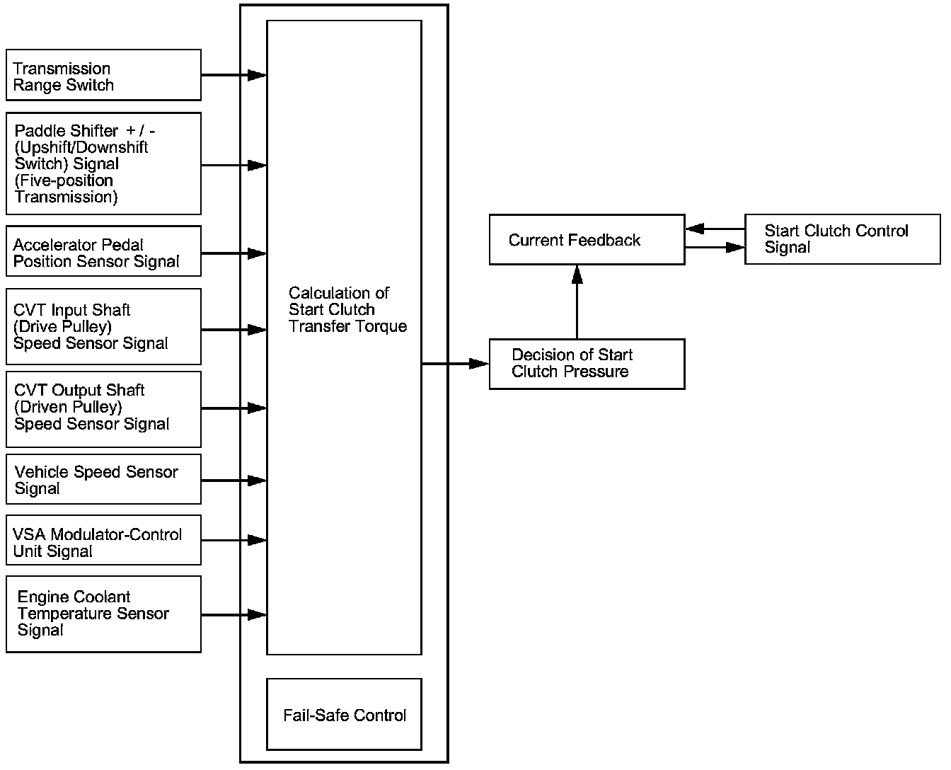
Start Clutch Pressure Control

The hydraulic-controlled start clutch, like a torque converter, controls smooth starting-off and creeping in D, S, L, and R. The PCM inputs signals from the sensors and the switches, and actuates the CVT clutch pressure control solenoid valve to regulate the clutch reducing pressure, and the clutch reducing pressure controls the start clutch.






PCM CVT Control System Electrical Connections-Five-position Transmission





PCM CVT Control System Electrical Connections-Six-position Transmission





PCM Inputs and Outputs at Connector A (square) (44P)










PCM Inputs and Outputs at Connector A (square) (44P)










PCM Inputs and Outputs at Connector B (triangle) (44P)










PCM Inputs and Outputs at Connector B (triangle) (44P)










PCM Inputs and Outputs at Connector C (circle) (44P)