Curiosii for ever!: Car repair manuals for everyone.

Individual Map Light Test/Replacement




Individual Map Light Test/Replacement

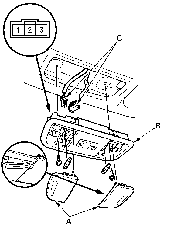
1. Turn the individual map light switch OFF.

2. Carefully pry off the lens (A) with a small screwdriver.






With navigation





Without navigation





3. Remove the screws, then remove the individual map light (B).

4. Disconnect the connector(s) (C) from the individual map light.

5. Check for continuity between the terminals.

- There should be continuity between the terminals No. 1 and No. 2 (body ground) with the switch in the ON position.
- There should be no continuity between the terminals No. 1 and No. 2 (body ground) with the switch in the OFF position.

6. If the continuity is not as specified, check the bulb. If the bulb is OK, replace the individual map light.

7. Install the individual map light in the reverse order of removal.