Curiosii for ever!: Car repair manuals for everyone.

Keyless Entry Transmitter Test




Keyless Entry Transmitter Test

NOTE:

- If the doors unlock or lock with the transmitter, but the LED on the transmitter does not come on, the LED is faulty; replace the transmitter.
- If any door is open, you cannot lock the doors with the transmitter.
- If you unlocked the doors with the transmitter, but do not open any of the doors within 30 seconds, the doors relock automatically.
- The doors do not lock or unlock with the transmitter if the ignition key is inserted in the ignition switch.

With HDS

1. Press the transmitter lock or unlock button at least 10 times to reset the transmitter.

- If the locks work, the transmitter is OK.
- If any of the transmitter buttons do not work, replace the transmitter, then register the transmitter programming Immobilizer Key Registration.
- If the locks do not work, go to step 2.

2. Connect the HDS to the data link connector.

3. Select the KEYLESS TRANSMITTER from the BODY ELECTRICAL menu, next select INSPECTION, then enter the KEYLESS CHECK.

4. Follow the screen prompts to check each button operation.

NOTE: The door lock actuators may or may not cycle when receiving input from the transmitter.

- If KEYLESS ENTRY TRANSMITTER CODE RECEIVED is indicated, the transmitter is OK.
- If DIFFERENT KEYLESS ENTRY TRANSMITTER CODE IS RECEIVED is indicated, the transmitter is working but not registered to the vehicle. If necessary, reprogram and register the transmitter Immobilizer Key Registration.
- If KEYLESS ENTRY TRANSMITTER CODE IS NOT RECEIVED is indicated, go to step 5.

5. Open the transmitter, and check for water damage.

- If you find any water damage, replace the transmitter, then register the new transmitter.
- If there is no water damage, go to step 6.





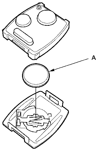
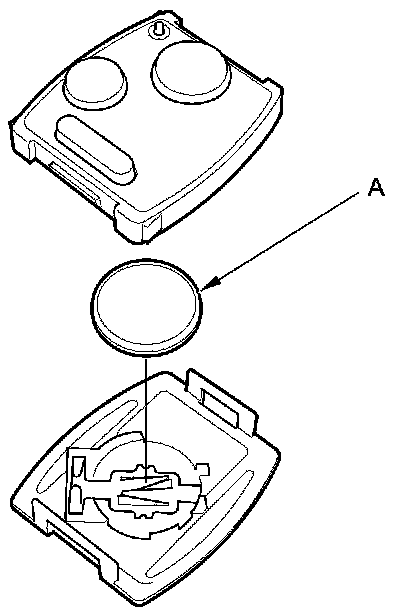
6. Replace the transmitter battery (A) with a new one, and press the lock or unlock button and check the receive condition on the screen of the HDS.

- If KEYLESS ENTRY TRANSMITTER CODE IS RECEIVED is indicated, the transmitter is OK.
- If KEYLESS ENTRY TRANSMITTER CODE IS NOT RECEIVED is indicated, go to step 7.





7. Use a different known-good keyless transmitter assembly, and repeat steps 3 and 4.

NOTE: The keyless transmitter does not need to be programmed to the vehicle for this test.

- If DIFFERENT KEYLESS ENTRY TRANSMITTER CODE WAS RECEIVED is indicated, replace the keyless transmitter, and do the immobilizer system registration Immobilizer Key Registration.
- If KEYLESS ENTRY TRANSMITTER CODE WAS NOT RECEIVED is indicated, the immobilizer-keyless control unit is faulty, replace it, and do the immobilizer system registration Immobilizer Key Registration.

NOTE: The keyless transmitter is combined with the immobilizer transponder, so when the transponder is registered by the HDS, the keyless transmitter is also registered automatically.

Without HDS

1. Start the engine.

- If the engine does not start, go to the immobilizer system troubleshooting Engine Does Not Start With The Immobilizer Key.
- If the engine starts, go to step 2.

2. Press the transmitter lock or unlock button at least 10 times to reset the transmitter.

- If the locks work, the transmitter is OK.
- If the locks do not work, go to step 3.

3. Open the transmitter, and check for water damage.

- If you find any water damage, replace the transmitter and register the new transmitter.
- If there is no water damage, go to step 4.





4. Replace the transmitter battery (A) with a new one, and try to lock and unlock the doors with the transmitter by pressing the lock or unlock button at least 10 times.

- If the doors lock and unlock, the transmitter is OK.
- If the doors do not lock and unlock, go to step 5.





5. Reprogram and register the transmitter Immobilizer Key Registration, then try to lock and unlock the doors.

- If the doors lock and unlock, the transmitter is OK.
- If the doors do not lock and unlock, substitute a known-good transmitter, and recheck. If the doors still do not lock and unlock, replace the immobilizer-keyless control unit.