Curiosii for ever!: Car repair manuals for everyone.

Wiper Motor Test




Wiper Motor Test

Windshield

1. Remove the wiper arms Service and Repair and the cowl lid (A).





2. Disconnect the 5P connector (B) from the wiper motor (C).

3. Test the motor by connecting battery power to terminal No. 3 and ground to terminal No. 4 of the wiper motor 5P connector. The motor should run at low speed.

4. Test the motor by connecting battery power to terminal No. 5 and ground to terminal No. 4 of the wiper motor 5P connector. The motor should run at high speed.

5. Connect an analog ohmmeter to terminals No. 1 and No. 4, and run the motor at low speed (repeat step 3). The needle of the ohmmeter should pulse.

6. If the motor does not run, or fails to run smoothly, or there is no pulse, replace the motor.

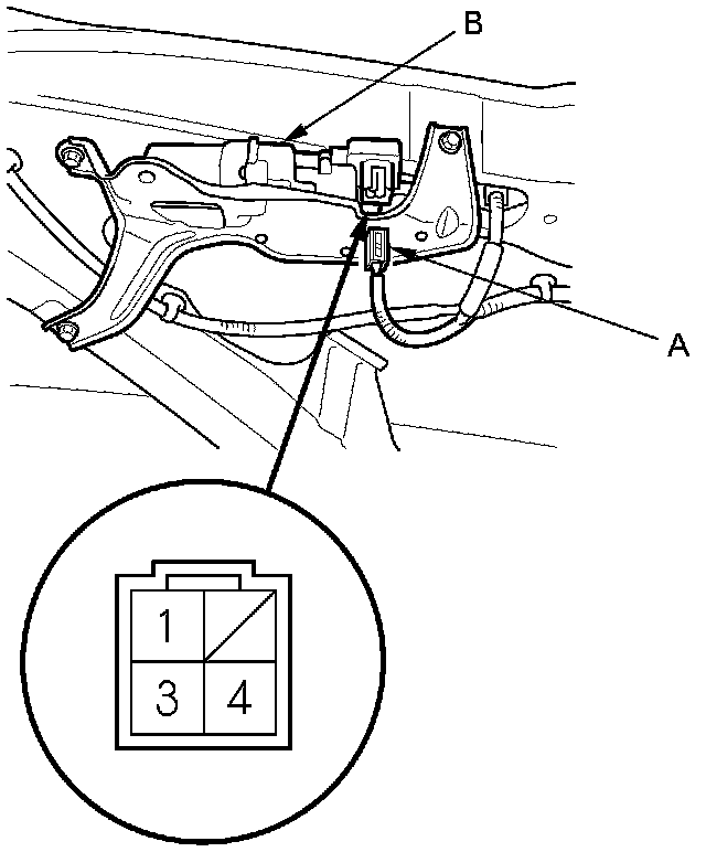
Rear Window

NOTE: If there is malfunction of the rear window wiper operation, and no DTCs are detected, test the rear window wiper motor as described below, and check for an open or high resistance in the ground circuit of the rear window wiper B1028.

1. Open the tailgate, and remove the tailgate lower trim panel .

2. Disconnect the 4P connector (A) from the wiper motor (B).





3. Test the motor by connecting battery power to terminal No. 1 and ground to terminal No. 3 of the wiper motor. The motor should run.

4. Connect an analog ohmmeter between rear window wiper motor 4P connector terminals No. 3 and No. 4 and run the motor (repeat step 3). The needle of the ohmmeter should pulse.

5. If the motor does not run, or fails to run smoothly, or there is no pulse, replace the motor.