Curiosii for ever!: Car repair manuals for everyone.

Overhaul




Starter Overhaul

Disassembly/Reassembly





Armature Inspection and Test

1. Remove the starter Removal and Replacement.

2. Disassemble the starter as shown in the Exploded View.

3. Inspect the armature for wear or damage from contact with the permanent magnet. If there is wear or damage, replace the armature.






4. Check the commutator (A) surface. If the surface is dirty or burnt, resurface it with an emery cloth or a lathe to the specifications in step 5, or recondition with #500 or #600 sandpaper (B).






5. Check the commutator diameter with a digital caliper or dial type caliper. If the diameter is below the service limit, replace the armature.










6. Measure the commutator (A) runout.

- If the commutator runout is within the service limit, check the commutator for carbon dust or brass chips between the segments.
- If the commutator runout is not within the service limit, replace the armature.










7. Use a digital caliper or dial caliper to check the mica depth (A). If the mica depth is below the service limit, replace the armature.










8. Use an ohmmeter to Check for continuity between the segments of the commutator. If there is an open circuit between any of the segments, replace the armature.






9. Place the armature (A) on an armature tester (B). Hold a hacksaw blade (C) on the armature core. If the blade is attracted to the core while the core is turned, the armature is shorted. Replace the armature.






10. Use an ohmmeter to check for continuity between the commutator (A) and armature coil core (B), and between the commutator and the armature shaft (C). If there is continuity, replace the armature.






Starter Brush Inspection

11. Measure the brush length. If it is not within the service limit, replace the brush holder assembly.










Starter Field Winding Test

12. Check for continuity between the brushes (A). If there is no continuity, replace the armature housing (B).





13. Check for continuity between each brush and the armature housing. If there is continuity, replace the armature housing.

Starter Brush Holder Test

14. Check for continuity between the (+) brush holder (A) and (-) brush holder (B). If there is continuity, replace the brush holder assembly.






Brush Spring Inspection

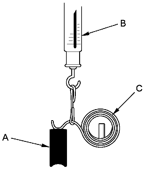
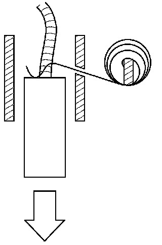
15. Insert the brush (A) into the brush holder, and bring the brush into contact with the commutator, then attach a spring scale (B) to the spring (C). Measure the spring tension at the moment the spring lifts off the brush. If it is not within the standard, replace the brush holder assembly.










Overrunning Clutch Inspection

16. Slide the overrunning clutch (A) along the shaft.

Replace it if it does not slide smoothly.





17. Hold the drive gear (B), and turn the overrunning clutch in the direction shown to make sure it turns freely. Also make sure the overrunning clutch locks in the opposite direction. If it does not lock in either direction or it locks in both directions, replace it.

18. If the starter drive gear is worn or damaged, replace the overrunning clutch assembly; the gear is not available separately. Check the condition of the flywheel ring gear if the starter drive gear teeth are damaged.

Planetary Gear Inspection

19. Check the planetary gears (A) and internal ring gear (B). Replace them if they are worn or damaged.






Starter Reassembly

20. Pry back each brush spring with a screwdriver, then position the brush about halfway out of its holder, and release the spring to hold it there.

NOTE: To seat new brushes, slip a strip of #500 or #600 sandpaper, with the grit side up, between the commutator and each brush, and smoothly turn the armature. The contact surface of the brushes will be sanded to the same contour as the commutator.






21. Install the armature in the housing, and install the brush holder. Next, pry back each brush spring again, and push the brush down until it seats against the commutator, then release the spring against the end of the brush.





22. Install the starter end cover to retain the brush holder.

23. Do the starter performance test Testing and Inspection.