Curiosii for ever!: Car repair manuals for everyone.

Power and Ground Distribution: Testing and Inspection




Power Relay Test

Special Tools Required

- Relay Puller 07AAC-000A1A0

Use this chart to identify the type of relay, then do the test listed for it.














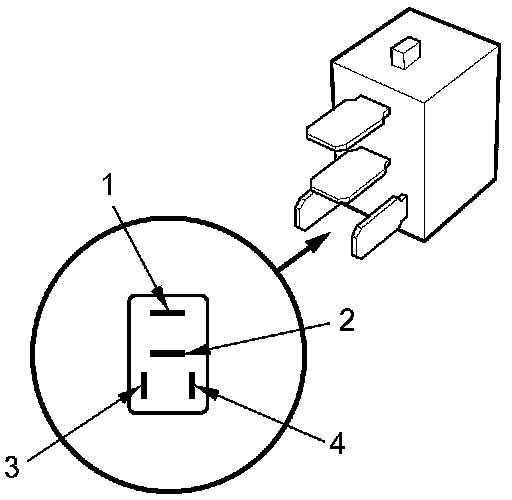
Normally-open Four-terminal Type

Check for continuity between the terminals:

- There should be continuity between terminals No. 1 and No. 2 when battery power is connected to terminal No. 4, and body ground is connected to terminal No. 3.
- There should be no continuity between terminals No. 1 and No. 2 when power is disconnected.










Five-terminal Type

Check for continuity between the terminals:

- There should be continuity between terminals No. 1 and No. 2 when battery power is connected to terminal No. 5, and body ground is connected to terminal No. 3.
- There should be continuity between terminals No. 1 and No. 4 when power is disconnected.