Curiosii for ever!: Car repair manuals for everyone.

Oil Separator: Service and Repair




Engine Oil/Air Separator Installation

1. Remove the all of the old liquid gasket from the oil/air separator mating surfaces, the bolts, and the bolt holes.

2. Clean and dry the oil/air separator mating surfaces.

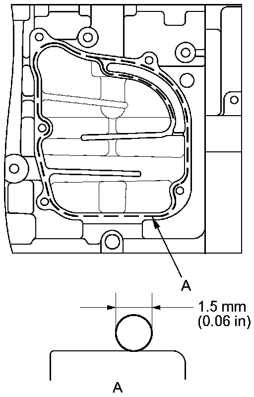
3. Apply liquid gasket (P/N 08717-0004, 08718-0003, or 08718-0009) to the engine block mating surface of the oil/air separator and to the inside edge of the bolt holes. Install the component within 5 minutes of applying the liquid gasket.

NOTE:

- Apply liquid gasket about 1.5 mm (0.06 in) diameter bead along the broken line (A).
- If you apply liquid gasket P/N 08718-0012, the component must be installed within 4 minutes.
- If too much time has passed after applying the liquid gasket, remove the old liquid gasket and residue, then reapply new liquid gasket.





4. Install the oil/air separator.

NOTE:

- Wait at least 30 minutes before filling the engine with oil.
- Do not run the engine for at least 3 hours after installing the chain case.