Curiosii for ever!: Car repair manuals for everyone.

Engine Removal




Engine Removal

Special Tools Required

- Universal Lifting Eyelet 07AAK-SNAA120
- 1.8 Support Bolt 07AAK-SNAA500
- Engine Support Hanger, A and Reds AAR-T1256
*: Available through the Honda Tool and Equipment Program

NOTE:

- Use fender covers to avoid damaging painted surfaces.
- To avoid damaging the wiring and terminals, unplug the wiring connectors carefully while holding the connector portion.
- Mark all wiring and hoses to avoid misconnection. Also, be sure that they do not contact other wiring or hoses, or interfere with other parts.

1. Secure the hood in the wide open position (support rod in the lower hole).





2. Relieve fuel pressure. Service and Repair

3. Do the battery removal procedure Removal and Replacement.

4. Remove the windshield wiper motor. Service and Repair

5. Remove the under-cowl panel Service and Repair.

6. Remove the air cleaner housing assembly Service and Repair.

7. Remove the battery cables (A) from the battery terminal fuse box.





8. Remove the harness clamps (B).

9. M/T model: Remove the harness clamp (A). Remove the two bolts (B) and loosen the two bolts (C), then remove the battery base (D).






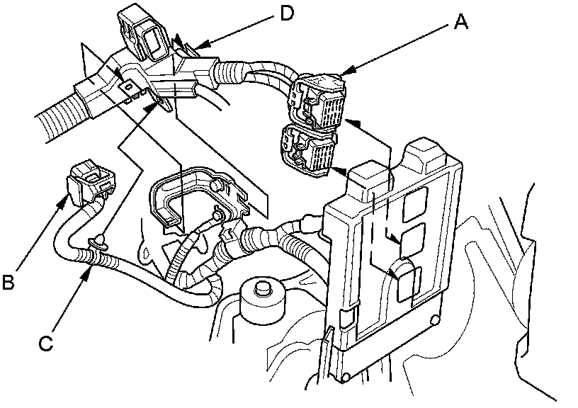
10. Disconnect the engine control module (ECM)/powertrain control module (PCM) connectors (A) and the engine wire harness connector (B).





11. Remove the harness clamp (C) and harness holder (D).

12. Disconnect the evaporative emission (EVAP) canister hose (A) and brake booster vacuum hose (B).






13. Remove the fuel feed hose clamp (A) and the quick-connect fitting cover (B), then disconnect the fuel feed hose (C) Fuel Line/Quick-Connect Fitting Removal.






14. Disconnect the secondary heated oxygen sensor (secondary HO2S) connector (A), then remove the secondary HO2S harness from the clamps (B).





15. Remove the steering wheel. Steering Wheel Removal

16. Remove the steering joint cover (A).





17. Make a reference mark (B) across the steering joint and steering gearbox pinion shaft. Remove the steering joint bolt (C), and disconnect the steering joint (D) by removing the steering joint toward the steering column. Hold the slider shaft (E) on the column with a piece of wire (F) between the joint yoke (G) on the slider shaft to the joint yoke on the upper shaft . Steering Gearbox Removal/Installation

18. M/T model: Remove the shift cable Manual Transmission Removal.

19. M/T model: Remove the clutch slave cylinder, and clutch line bracket mounting bolt Manual Transmission Removal.

20. Remove the radiator cap.

21. Raise the vehicle on the lift to full height.

22. Remove the front wheels.

23. Remove the splash shields.





24. With A/C: Remove the drive belt Service and Repair.

25. Loosen the drain plug in the radiator, and drain the engine coolant Service and Repair.

26. Drain the engine oil Service and Repair.

27. Drain the transmission fluid:

- Manual transmission Service and Repair
- Automatic transmission ATF Replacement

28. Remove the under-floor three way catalytic converter (under-floor TWC).





29. A/T model: Remove the shift cable Automatic Transmission Removal.

30. Insert a 5 mm Allen wrench (A) in the top of the ball joint pin (B), and remove the nuts (C), then separate the stabilizer link (D) from the stabilizer ends (E).





31. Remove the spring clips (F) and castle nuts (G), and separate the lower arms (H) from the knuckles (I). Service and Repair

32. Remove the cotter pins (J) and the nuts (K), and separate the tie-rod end ball joint (L) from the knuckles. Service and Repair

33. M/T model: Remove the driveshaft heat shield.





34. Remove the driveshafts Driveshaft Removal. Coat all precision-finished surfaces with clean engine oil. Tie plastic bags over the driveshaft ends.

35. Disconnect the EPS motor angle sensor 8P connector (A) and torque sensor 6P connector (B) from the steering gearbox.





36. Disconnect the EPS motor 3P connector (C) by pushing the lock (D) and pulling up the lever (E).

37. With A/C: Remove the A/C compressor without disconnecting the A/C hoses. Do not bend the A/C hoses excessively.





38. Lower the vehicle on the lift.

39. Remove the radiator Radiator Replacement.

40. Disconnect the heater hoses.






41. Install the universal lifting eyelet (A) to the air cleaner housing bracket with the 1.8 support bolt (B). Tighten the bolt by hand.





42. Install the A and Reds engine support hanger (AAR-T1256), then attach the hook to the slotted hole in the universal eyelet. Tighten the wing nut (C) by hand to lift and support the engine/transmission.

43. Raise the vehicle on the lift to full height.

44. Place a transmission jack under the transmission and raise it just enough to free the torque rod, then remove the torque rod.

M/T model





A/T model





45. Remove the jack.

46. Support the subframe with a transmission jack.

47. Remove the front subframe.





48. Lower the front subframe and steering gearbox as an assembly by lowering the jack slowly.

49. Lower the vehicle on the lift.

50. Install the universal lifting eyelet to the chain case.






51. Attach the chain hoist to the universal lifting eyelet(A) and the transmission hook (B). Lift the engine/transmission until it is securely supported by the chain hoist, then remove the engine support hanger.






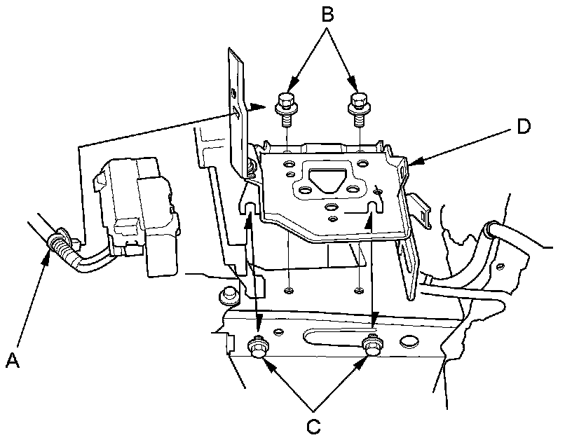
52. Remove the ground cable (A), then remove the transmission mount bracket (B).

M/T model





A/T model





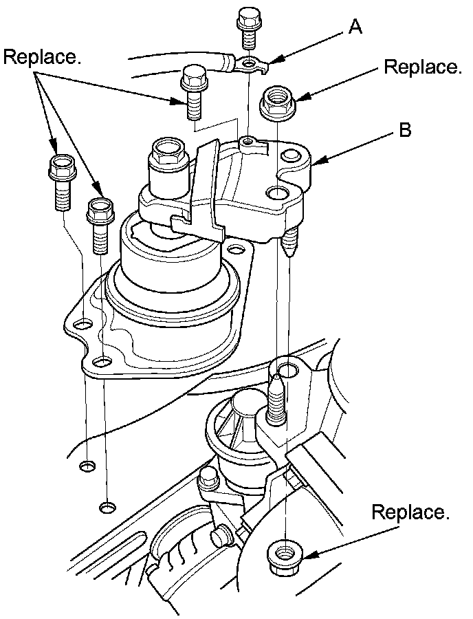
53. Remove the ground cable (A), then remove the side engine mount/bracket assembly (B).





54. Check that the engine/transmission is completely free of vacuum hoses, fuel and coolant hoses, and electrical wiring.

55. Slowly lower the engine/transmission about 150 mm(6 in). Check once again that all hoses and electrical wiring are disconnected and free from the engine/transmission, then lower it all the way.

56. Disconnect the chain hoist from the engine/transmission.

57. Raise the vehicle, and remove the engine/transmission from under the vehicle.