Curiosii for ever!: Car repair manuals for everyone.

Cylinder Block Assembly: Testing and Inspection




Block and Piston Inspection

1. Remove the crankshaft and the pistons Crankshaft And Piston Removal.

2. Check the piston for distortion or cracks.

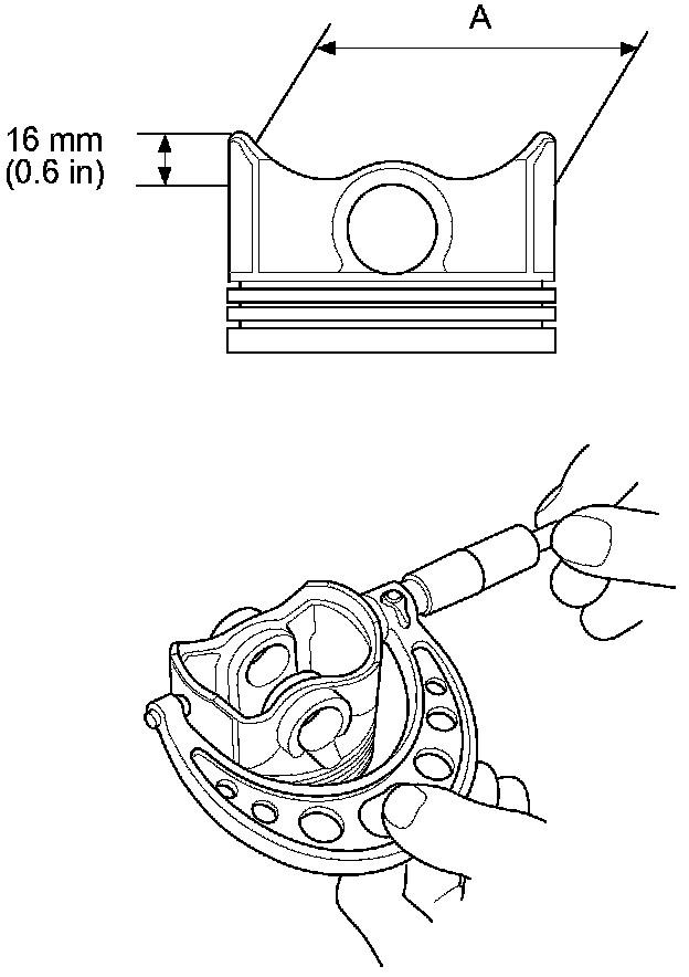
3. Measure the piston diameter (A) at a point 16 mm (0.6 in) from the bottom of the skirt.














4. Measure wear and taper in direction Y at three levels in each cylinder as shown. If measurements in any cylinder are beyond the Oversize Bore Service Limit, replace the engine block. If the engine block is to be rebored, refer to step 7 after reboring.

Cylinder Bore Size





















5. Scored or scratched cylinder bores must be honed Cylinder Bore Honing.

6. Check the top of the engine block for warpage. Measure along the edges and across the center as shown.

Engine Block Warpage














7. Calculate the difference between the cylinder bore diameter and the piston diameter. If the clearance is near or exceeds the service limit, inspect the piston and engine block for excessive wear.

Piston-to-Cylinder Clearance