Curiosii for ever!: Car repair manuals for everyone.

Splash Shield Replacement




Splash Shield Replacement

NOTE:

- Put on gloves to protect your hands.
- Take care not to scratch the body.

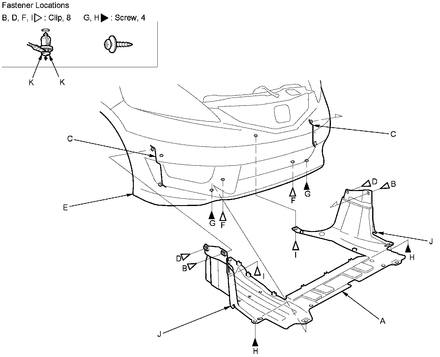
1. Remove the splash shield (A).

1. From the wheel arch on both sides, remove the clips (B) securing the front splash shield and the front inner fender (C) to the body, and remove the clips (D) securing the front splash shield to the body.

2. From under the front bumper (E), remove the clips (F) and the screws (G).

3. From under the body, remove the screws (H) securing the front splash shield to the front inner fender, and the clips (I) securing the front splash shield to the front suspension subframe.

4. Release the hooks (J) of the front splash shield from the front inner fender, then pull the splash shield out.

NOTE: To release the clips, pry up on the center pin at the notch (K).





2. Install the splash shield in the reverse order of removal, and note these items:

- If the clips are damaged or stress-whitened, replace them with new ones.
- Push the clips and the hooks into place securely.