Curiosii for ever!: Car repair manuals for everyone.

Console: Service and Repair




Center Console Removal/Installation

Special Tools Required

- KTC Trim Tool Set SOJATP2014
*

SRS components are located in this area. Review the SRS component locations Locations and the precautions and procedures Service and Repair before doing repairs or service.

NOTE:

- Take care not to scratch the front seat, the dashboard, or related parts.
- When prying with a flat-tipped screwdriver, wrap it with protective tape to prevent damage.
- Use the appropriate tool from the KTC trim tool set to avoid damage when removing components.

1. M/T model: Remove the shift knob (A).






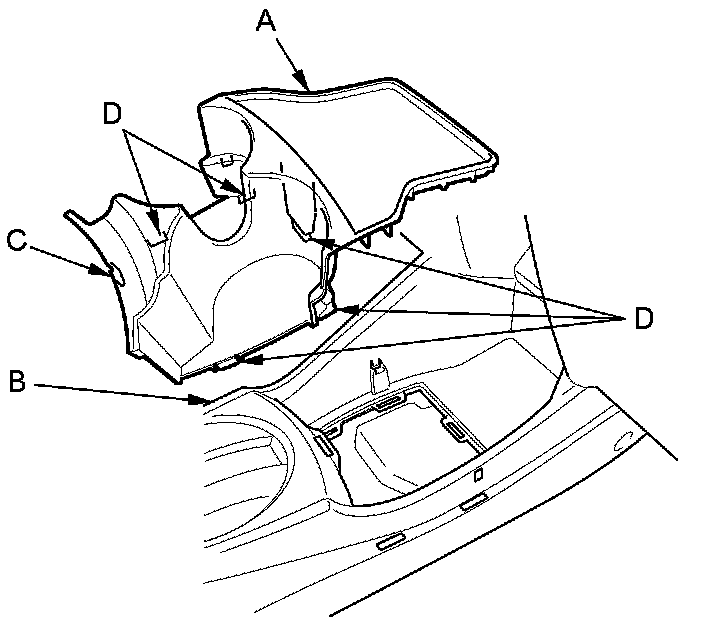
2. Remove the console lid (A) from the center console (B).

1. Pry up on the rear hook (C) with a flat-tipped screwdriver wrapped with protective tape.

2. Carefully pull up the console lid to release the hooks (D).





3. Remove the center console (A).

1. Remove the parking brake cover lid (B).

2. Remove the console box mat (C), then remove the bolt (D), and the clips (E).

3. Lift the rear of the console up to detach the clip (F), and pull off the front pin (G) from the heater unit.





4. Install the trim in the reverse order of removal, and note these items:

- If the clips are damaged or stress-whitened, replace them with new ones.
- Push the clips into place securely.
- Make sure the wire harnesses are not pinched.