Curiosii for ever!: Car repair manuals for everyone.

Procedures






Battery Terminal Disconnection and Reconnection

Disconnection

NOTE: Some systems store data in memory that is lost when the battery is disconnected. Do the following procedures before disconnecting the battery.

1. Make sure to have the anti-theft code for the audio system or the navigation unit.

2. Make sure the ignition switch is in LOCK (0).

3. Disconnect and isolate the negative cable from the battery.

NOTE: Always disconnect the negative cable from the battery first.

4. Disconnect the positive cable from the battery.

Reconnection

NOTE: Some systems store data in memory that is lost when the battery is disconnected. Do the following procedures to restore the system back to normal operation.

1. Clean the battery terminals.

2. Test the battery Battery Test.

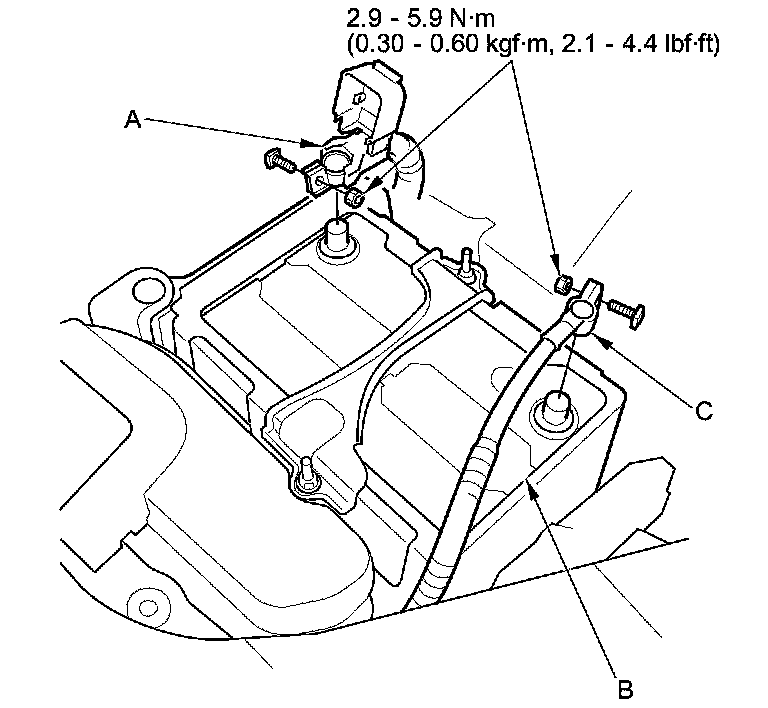
3. Reconnect the positive cable (A) to the battery (B) first, then reconnect the negative cable (C) to the battery.

NOTE: Always connect the positive cable to the battery first.





4. Apply multipurpose grease to the terminals to prevent corrosion.

5. Enter the anti-theft code for the audio system or the navigation unit.

6. Set the clock (for vehicles without navigation).