Curiosii for ever!: Car repair manuals for everyone.

Front Impact Sensor Replacement




Front Impact Sensor Replacement

Removal

1. Do the battery terminal disconnection procedure, Procedures then wait at least 3 minutes before starting work.

2. Remove the front inner fender. Front Inner Fender Replacement (2-Door)

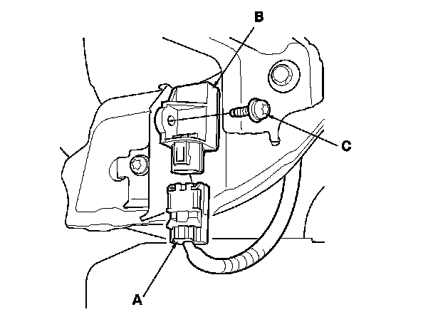
3. Disconnect the engine compartment wire harness 2P connector (A) from the front impact sensor (B). Remove the TORX bolt (C) using a TORX T30 bit, then remove the front impact sensor.






Installation

1. Install the front impact sensor (A) with a new TORX bolt (B), using a TORX T30 bit.

2. Connect the engine compartment wire harness 2P connector (C) to the front impact sensor.

3. Do the battery terminal reconnection procedure. Procedures

4. Clear any DTCs. Reading and Clearing Diagnostic Trouble Codes

5. Confirm proper operation: Turn the ignition switch to ON (II); the SRS indicator should come on for about 6 seconds and then go off.

6. Reinstall all removed parts.