Curiosii for ever!: Car repair manuals for everyone.

Fuel Tank Pressure Sensor: Service and Repair




FTP Sensor Replacement

1. Remove the fuel joint block. Service and Repair

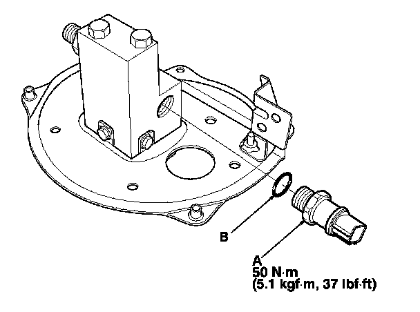
2. Remove the FTP sensor (A).

3. Apply silicone oil or polyalkyleneglycol (PAG) oil to a new O-ring (B), and carefully install it into its proper position. Service and Repair

4. Install the parts in the reverse order of removal.

5. Do the leak inspection procedure. Testing and Inspection