Curiosii for ever!: Car repair manuals for everyone.

Intermediate Housing Manual Valve Body Disassembly/Inspection/Reassembly




Intermediate Housing Manual Valve Body Disassembly/Inspection/Reassembly

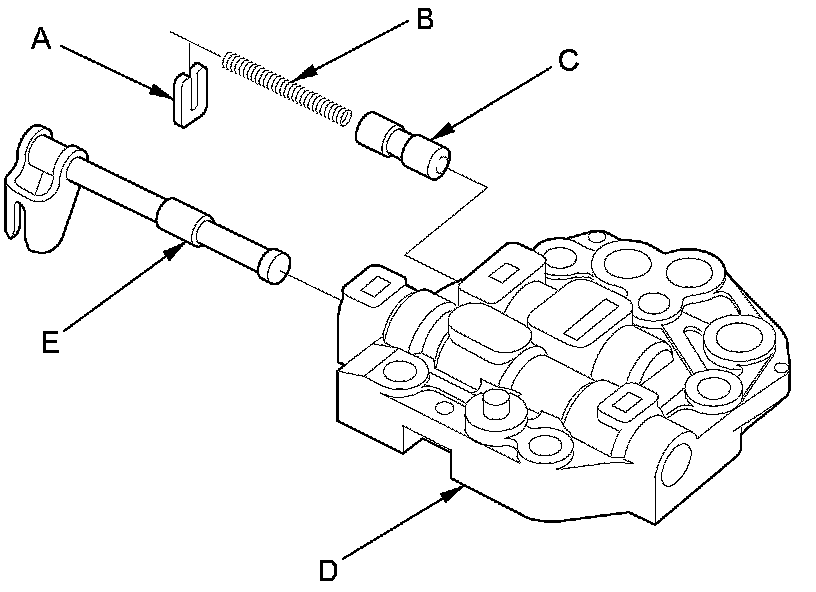
1. Remove the spring seat (A), the valve spring (B), and the reverse inhibitor valve (C) from the manual valve body (D).









2. Remove the manual valve (E).

3. Check all parts for wear and damage.

4. Clean all parts thoroughly in solvent, and dry with compressed air. Blow out all passages.

5. Coat all parts with CVTF during assembly.

6. Install the reverse inhibitor valve (A) and the valve spring (B) in the manual valve body (C). Push the valve spring in using a screwdriver (D), then install the spring seat (E).