Curiosii for ever!: Car repair manuals for everyone.

Humidity Sensor: Service and Repair




Humidity/In-Car Temperature Sensor Replacement

1. Remove the center panel:
- '09-11 models with navigation Audio-Navigation Unit Removal/Installation
- '09-11models without navigation Audio Unit Removal/Installation

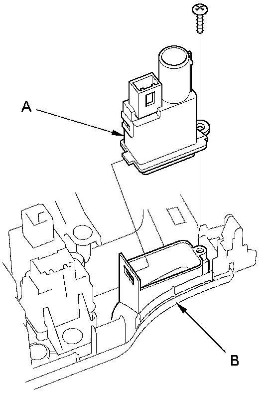
2. Remove the self-tapping screw and the humidity/in-car temperature sensor (A) from the center panel (B).





3. Install the sensor in the reverse order of removal. Be sure to connect the air hose securely.