Curiosii for ever!: Car repair manuals for everyone.

Power Window Master Switch Input Test




Power Window Master Switch Input Test

NOTE: Before testing, troubleshoot the multiplex integrated control unit first, using B-CAN System Diagnosis Test Mode A Troubleshooting - B-CAN System Diagnosis Test Mode A.

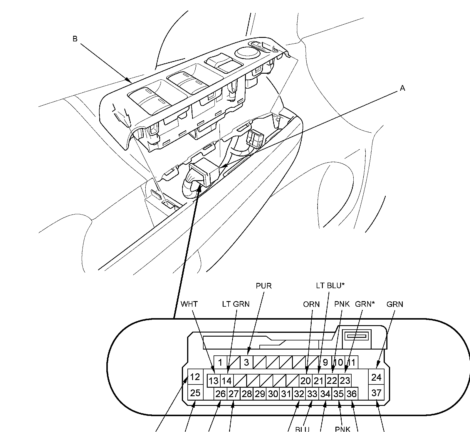
1. Turn the ignition switch to LOCK (0), open and close the driver's door, then remove the power window master switch.

- 4-door Power Window Master Switch Replacement (4-Door)
- 2-door Power Window Master Switch Replacement (2-Door)

2. Disconnect the 37P connector (A) from the door power window master switch (B).





3. Inspect the connector and socket terminals to be sure they are all making good contact.

- If the terminals are bent, loose or corroded, repair them as necessary and recheck the system.
- If the terminals look OK, go to step 4.

4. Reconnect the connector to the power window master switch, turn the ignition switch to ON (II), and do these input tests at the following connector.

- If any test indicates a problem, find and correct the cause, then recheck the system.
- If all the input tests prove OK, go to step 5.









5. Turn the ignition switch to LOCK (0), open and close the driver's door, then disconnect the 37P connector from the power window master switch again.

6. With the connector still disconnected, do these input tests at the following connector.

- If any test indicates a problem, find and correct the cause, then recheck the system.
- If all the input tests prove OK, the door multiplex control unit must be faulty, replace the power window master switch.
- 4-door Power Window Master Switch Replacement (4-Door)
- 2-door Power Window Master Switch Replacement (2-Door)

NOTE: After replacing the power window master switch, reset the power window control unit Testing and Inspection.