Curiosii for ever!: Car repair manuals for everyone.

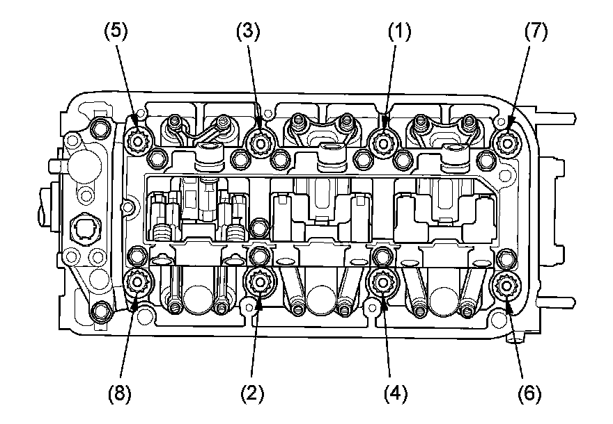
Tightening Torque

Cylinder head bolts

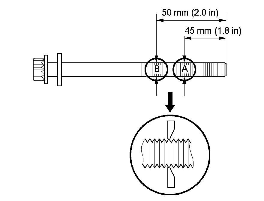
Measure the diameter of each cylinder head bolt at point A and point B.





If either diameter is less than 11.3 mm (0.445 in), replace the cylinder head bolt.








Step 1 29 Nm (3.0 kg-m, 22 lb-ft)
Step 2 90°
Step 3 additional 90°

If using a new bolt extra 90°

Camshaft gears Specifications

Intake manifold Specifications