Curiosii for ever!
: Car repair manuals for everyone.
Home
>>
Honda
>>
2010
>>
Accord V6-3.5L
>>
Repair and Diagnosis
>>
Specifications
>>
Mechanical Specifications
>>
Engine
>>
Cylinder Block Assembly
>>
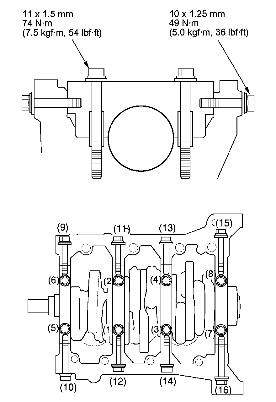
Crankshaft Main Bearing
Crankshaft Main Bearing
Crankshaft
bearing
Crankshaft
bearing caps
Repeat the torque sequence again to ensure the bolts are properly torqued
Block Bore Code Locations
Main Journal Code Locations (Numbers or Bars)