Curiosii for ever!
: Car repair manuals for everyone.
Home
>>
Honda
>>
2010
>>
Accord V6-3.5L
>>
Repair and Diagnosis
>>
Powertrain Management
>>
Computers and Control Systems
>>
Manifold Pressure/Vacuum Sensor
>>
Service and Repair
Manifold Pressure/Vacuum Sensor: Service and Repair
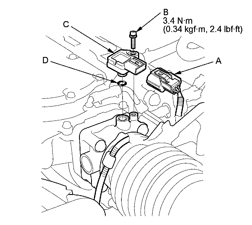
MAP Sensor Replacement
1.
Disconnect the MAP sensor connector (A).
2.
Remove the screw (B).
3.
Remove the MAP sensor (C).
4.
Install the parts in the reverse order of removal with a new O-ring (D).